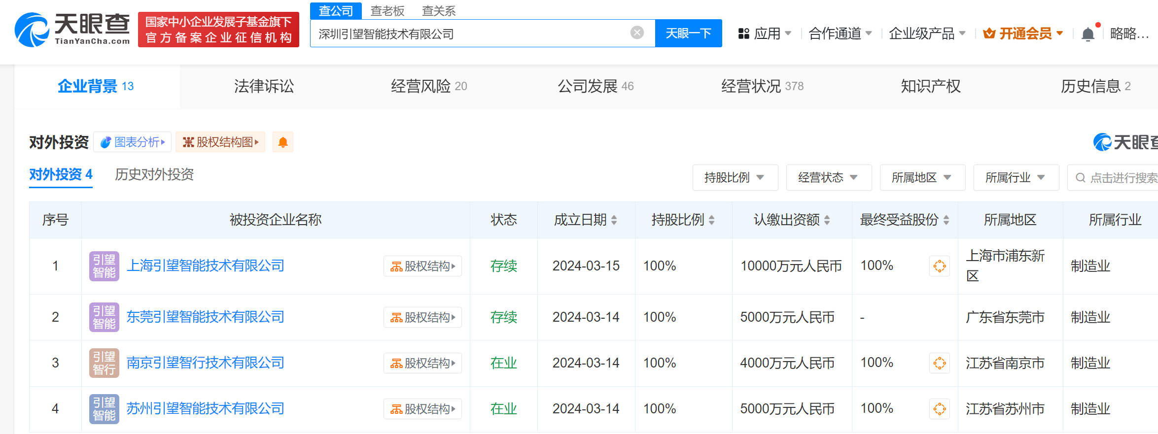
天眼查显示,3月15日,上海引望智能技术有限公司成立,法定代表人为郑丽英,注册资本1亿人民币,经营范围含人工智能行业应用系统集成服务、人工智能理论与算法软件开发、汽车零部件研发、智能车载设备制造等。股权全景穿透图显示,该公司由深圳引望智能技术有限公司全资持股,后者为华为技术有限公司全资子公司。据悉,深圳引望智能技术公司是华为车BU于今年1月成立的新公司。值得一提的是,3月14日,深圳引望已成立苏州引望智能技术有限公司、南京引望智行技术有限公司、东莞引望智能技术有限公司3家公司。



天眼查显示,3月15日,上海引望智能技术有限公司成立,法定代表人为郑丽英,注册资本1亿人民币,经营范围含人工智能行业应用系统集成服务、人工智能理论与算法软件开发、汽车零部件研发、智能车载设备制造等。股权全景穿透图显示,该公司由深圳引望智能技术有限公司全资持股,后者为华为技术有限公司全资子公司。据悉,深圳引望智能技术公司是华为车BU于今年1月成立的新公司。值得一提的是,3月14日,深圳引望已成立苏州引望智能技术有限公司、南京引望智行技术有限公司、东莞引望智能技术有限公司3家公司。



【责任编辑:慕悦】


扫描二维码关注"中国能源报"官方微信