
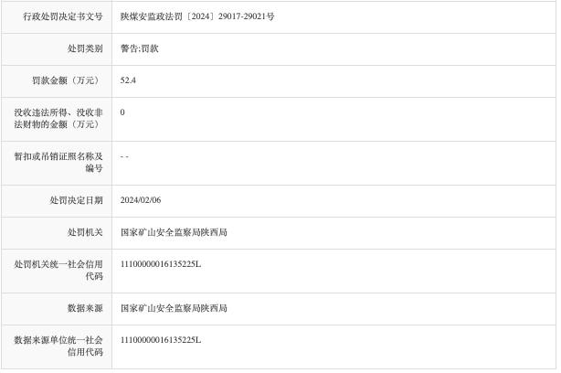
2月6日,西安市蒲城秦家坡煤矿因多项违法违规操作行为,被国家矿山安全监察局陕西局处以警告、并罚款52.4万的行政处罚。

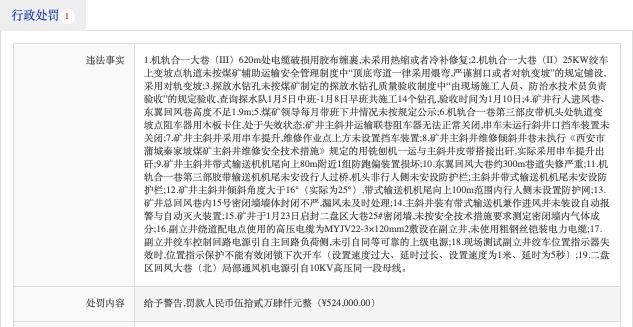
根据国家矿山安全监察局陕西局公布的陕煤安监政法罚〔2024〕29017-29021 号处罚信息显示,西安市蒲城秦家坡煤矿存在以下违法事实:
1. 机轨合一大巷(Ⅲ)620m 处电缆破损用胶布缠裹 , 未采用热缩或者冷补修复 ;
2. 机轨合一大巷(Ⅱ)25KW 绞车上变坡点轨道未按煤矿辅助运输安全管理制度中 " 顶底弯道一律采用煨弯 , 严谨割口或者对轨变坡 " 的规定铺设 , 采用对轨变坡 ;
3. 探放水钻孔未按煤矿制定的探放水钻孔质量验收制度中 " 由现场施工人员、防治水技术员负责验收 " 的规定验收 , 查询探水队 1 月 5 日中班 -1 月 8 日早班共施工 14 个钻孔 , 验收时间为 1 月 10 日 ;
4. 矿井行人进风巷、东翼回风巷高度不足 1.9m;
5. 煤矿领导每月带班下井情况未按规定公示 ;
6. 机轨合一巷第三部皮带机头处轨道变坡点阻车器用木板卡住 , 处于失效状态 ; 矿井主斜井运输联巷阻车器无法正常关闭 , 串车未运行斜井口挡车装置未关闭 ;
7. 矿井主斜井采用串车提升 , 维修作业点上方未设置挡车装置 ;
8. 矿井主斜井维修倾斜井巷未执行《西安市蒲城秦家坡煤矿主斜井维修安全技术措施》规定的用铣刨机一运与主斜井皮带搭接出矸 , 实际采用串车提升出矸 ;
9. 矿井主斜井带式输送机机尾向上 80m 附近 1 组防跑偏装置损坏 ;
10. 东翼回风大巷约 300m 巷道失修严重 ;
11. 机轨合一巷第三部胶带输送机机尾未安设行人过桥 , 机头非行人侧未安设防护栏 ; 主斜井带式输送机机尾未安设防护栏 ;
12. 矿井主斜井倾斜角度大于 16°(实际为 25°), 带式输送机机尾向上 100m 范围内行人侧未设置防护网 ;
13. 矿井总回风巷内 15 号密闭墙墙体封闭不严 , 漏风未及时处理 ;
14. 主斜井装有带式输送机兼作进风井未装设自动报警与自动灭火装置 ;
15. 矿井于 1 月 23 日启封二盘区大巷 25# 密闭墙 , 未按安全技术措施要求测定密闭墙内气体成分 ;
16. 副立井绕道配电点使用的高压电缆为 MYJV22-3×120mm2 敷设在副立井 , 未使用粗钢丝铠装电力电缆 ;
17. 副立井绞车控制回路电源引自主回路负荷侧 , 未引自同等可靠的上级电源 ;
18. 现场测试副立井绞车位置指示器失效时 , 位置指示保护不能有效闭锁下次开车(设置速度过大、延时过长、设置速度为 1 米、延时为 5 秒);
19. 二盘区回风大巷(北)局部通风机电源引自 10KV 高压同一段母线。

西安市蒲城秦家坡煤矿存在的以上违法事实,分别违反了以下法律法规:
1.《煤矿安全规程》第四百八十二条 ;
2.《煤矿安全规程》第三百八十条第四项 ;
3.《煤矿安全规程》第八条第三款 ;
4.《煤矿安全规程》第九十条第一款第二项 ;
5.《煤矿领导带班下井及安全监督检查规定》第七条第三款 ;
6.《煤矿安全规程》第三百八十七条第一款第四项、第二款 ;
7.《煤矿安全规程》第三百八十七条第一款第一项 ;
8.《煤矿安全规程》第八条第三款 ;
9.《煤矿安全规程》第五百七十一条第一项 ;
10.《煤矿安全规程》第一百二十五条 ;
11.《煤矿安全规程》第三百七十四条第九项 ;
12.《煤矿安全规程》第三百七十四条第六项 ;
13.《煤矿安全规程》第二百七十八条第一款第三项 ;
14.《煤矿防灭火细则》第三十五条 ;
15.《煤矿安全规程》第八条第三款 ;
16.《中华人民共和国安全生产法》第三十六条第一款 ;《煤矿安全规程》第四百六十三条第二项第 1 目 ;
17.《煤矿安全规程》第四百三十八条第五款 ;
18.《煤矿安全规程》第四百二十三条第一款第五项 ;
19.《煤矿安全规程》第一百六十四条第四项的规定。

相对应以上违法事实,国家矿山安全监察局陕西局依法对西安市蒲城秦家坡煤矿分别做出如下行政处罚:
1. 依据《中华人民共和国安全生产法》第九十九条第二项,对煤矿处三万元罚款 ;
2. 依据《安全生产违法行为行政处罚办法》第四十五条第一项给予警告 , 对煤矿处二万元罚款 , 对生产副矿长李跃华处四千元罚款 ;
3. 依据《安全生产违法行为行政处罚办法》第四十五条第一项给予警告 , 对煤矿处二万元罚款 , 对总工程师梁帅处四千元罚款 ;
4. 依据《中华人民共和国安全生产法》第一百零二条对煤矿处三万元罚款 ;
5. 依据《煤矿领导带班下井及安全监督检查规定》第十八条第四项给予警告 , 对煤矿处三万元罚款 ; 对矿长郑臣良处一万元罚款 ;
6. 有多个违法行为违法本发条 ,《中华人民共和国安全生产法》第九十九条第二项对煤矿从重处四万元罚款 ;
7. 依据《中华人民共和国安全生产法》第九十九条第二项对煤矿处二万元罚款 ;
8. 依据《安全生产违法行为行政处罚办法》第四十五条第一项给予警告 , 对煤矿处二万元罚款 , 对生产副矿长李跃华处四千元罚款 ;
9. 依据《中华人民共和国安全生产法》第九十九条第二项对煤矿处三万元罚款 ;
10. 依据《中华人民共和国安全生产法》第四十五条第一款给予警告 , 对煤矿处二万元罚款 , 对矿长郑臣良处四千元罚款 ;
11. 有多个违法行为违法本发条 ,《中华人民共和国安全生产法》第九十九条第二项对煤矿从重处四万元罚款 ;
12. 依据《中华人民共和国安全生产法》第九十九条第二项对煤矿处三万元罚款 ;
13. 依据《中华人民共和国安全生产法》第一百零二条对煤矿处三万元罚款 ;
14. 依据《中华人民共和国安全生产法》第九十九条第二项对煤矿处二万元罚款 ;
15. 依据《安全生产违法行为行政处罚办法》第四十五条第一项给予警告 , 对煤矿处二万元罚款 , 对总工程师梁帅处四千元罚款 ;
16. 依据《中华人民共和国安全生产法》第九十九条第二项对煤矿处二万元罚款 ;
17. 依据《安全生产违法行为行政处罚办法》第四十五条第一项给予警告 , 对煤矿处二万元罚款 , 对机电副矿长张保占处四千元罚款 ;
18. 依据《中华人民共和国安全生产法》第九十九条第二项对煤矿处三万元罚款 ;
19. 依据《中华人民共和国安全生产法》第九十九条第二项对煤矿处二万元罚款。

合并罚款 52.4 万元 , 并给予警告。做出处罚的日期为 2024 年 2 月 6 日。

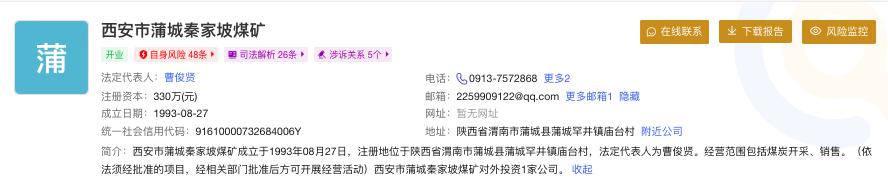
据爱企查显示,西安市蒲城秦家坡煤矿成立于 1993 年 08 月 27 日,注册地位于陕西省渭南市蒲城县蒲城罕井镇庙台村,法定代表人为曹俊贤。经营范围包括煤炭开采、销售。(依法须经批准的项目,经相关部门批准后方可开展经营活动)西安市蒲城秦家坡煤矿对外投资 1 家公司。














