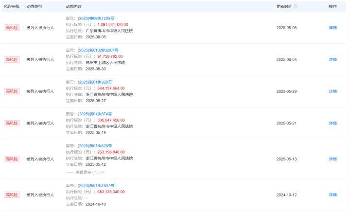
顾家集团有限公司(以下简称“顾家集团”)法定代表人顾江生近日新增一条被执行记录,执行标的达10.92亿元,执行法院为广东省佛山市中级人民法院。天眼查显示,这已是顾家集团第七次被列为被执行人,累计执行金额高达30.38亿元。
此外,所持股票被全部冻结、2900多万股股份被拍卖、大股东进一步发起要约收购,顾江生及其家族正一步一步远离其一手创立的顾家家居。
从家居巨头到被执行
顾家家居股份有限公司成立于2006年10月31日,顾家集团是其原控股股东,后者成立于2008年12月15日。顾江生是顾家家居的创始人,同时也是顾家集团的法定代表人及实际控制人。
顾江生出生于1973年10月,浙江台州人,家族三代从事家具制造。1995年,顾江生毕业于杭州大学体育系,随后在浙江树人大学任体育教师。2000年,他辞去公职,正式接手父亲于1996年创办的“海龙家私”,并推出“顾家家居”品牌。在其带领下,公司迅速发展,三年内年产值由3500万元提升至1亿元。2016年10月,顾家家居成功登陆上交所,成为国内软体家居行业的领军企业。
顾家集团及顾江生近年来多次被法院列为被执行人,背后与顾家家居及其管理层之间的法律纠纷密切相关。
2024年初,顾江生遭到顾家家居原副董事长金志国讨薪且被起诉——金志国声称顾江生及顾家集团拖欠其720万元人民币的固定报酬,为此他向杭州市中级人民法院提起诉讼,并成功申请冻结了顾家集团持有的顾家家居部分股份。
2024年3月,顾江生在顾家集团的1755万元股权被杭州市拱墅区法院冻结。
随后,顾家集团在浙商产融投资基金的股权1亿元也被钱塘区法院冻结。
2024年10月12日,顾家集团有限公司及其法定代表人顾江生被浙江省杭州市中级人民法院列为被执行人,涉及金额高达6.5亿元。
顾江生一步步远离自己创立的顾家家居
今年6月11日晚间,顾家家居发布公告,股东顾家集团及TB Home(一致行动人)全部股份被冻结,两股东债权金额合计近20亿元。
在顾家家居公布的顾家集团及TB Home被全数冻结的公告中提到,顾家家居涉及被冻结股权的债权事项金额为8.58亿元,TB Home涉及的被冻结股份债权金额为11.04亿元,合计涉及的债权金额约为19.62亿元。
按照顾家集团及TB home持有的总计1.443亿股来计算,对应价值约为35.57亿元。虽然足以覆盖债务,但也会损失大半股权,顾江生家族对顾家家居的影响力会进一步减弱。
另一方面,今年5月上市公司拟以每股19.15元的认购价格,向美的集团何享健之子何剑锋持有的盈峰集团,定向增发超过1.04亿股,合计认购金额不超过19.97亿元。发行完成后,盈峰集团将直接持有公司11.26%的股权,其和顾家家居目前的第一大股东、也是一致行动人盈峰睿和投资,将合计持有公司37.37%的股比。
这意味着何享健家族的对顾家家居的控制权将进一步加深,而顾江生家族将进一步远离他一手创办的企业。
虽然顾家家居并未说明债务压力的缘由,但从2018年顾江生提出“千亿计划”来看,这家曾希望在2026年达到市值千亿、2028年销售目标千亿的家居上市企业,扩张之路和大部分其他企业类似。
而在此之后斥巨资收购、入股的如班尔奇、卡尔文等企业,以及通过海外扩张收购德国沙发品牌RolfBenz、意大利老牌家具制造商Natuzzi子公司等公司的股权,也给企业带来了不小的资金压力。
然而,之后地产行业的下行,以及整体经济走势的变化,让这些收购未达到顾江生的预期,而债务到期的压力却在此时纷至沓来。 彼时大举收购的三年间,公司负债总额从25.35亿元上升至59.59亿元,资产负债率也由的38.63%升一度升至52.28%。
并购带来的负面效应自2020年起开始逐渐显现。顾家家居当年归母净利润同比下滑27.19%,为上市以来首次出现年度净利下滑,主要原因在于部分并购标的业绩未达预期,公司因此计提了4.84亿元的商誉减值准备。其中,以4.24亿元收购的玺堡家居,其在2020年、2021年及2022年上半年分别实现营业收入7.69亿元、8.13亿元和2.22亿元,净利润仅为0.02亿元、0.12亿元和0.02亿元。
或为缓解资金压力,顾氏家族自2020年起开始大规模减持股份,套现变现。其中,包括出售约占公司总股本11.01%的股份,套现37.20亿元;2020年底减持获得近20亿元;2022年再度减持1.97%股权,获利8.01亿元。综合来看,顾江生及其一致行动人在公司上市后通过股份交易累计套现约80.40亿元。
2023年11月,顾江生家族将所持顾家家居29.42%的股份转让给由何剑锋实际控制的盈峰睿和投资,总价款约103.00亿元。另外,截至目前,公司累计向股东分红9次,累计金额63.39亿元,其中顾江生作为主要股东合计获得约20亿元。至此,顾江生家族通过减持股份、可交换债券换股、现金分红等方式,累计套现金额超200亿元。














