7月28日晚间,世名科技(300522.SZ)披露关于公司实际控制人、董事长、总裁被采取留置措施的公告。
公告称,公司于近日收到公司实际控制人、董事长、总裁陆勇家属的通知,被告知其收到启东市监察委员会签发的《留置通知书》,陆勇因江苏半步堂置业有限公司相关事宜被实施留置,本次留置为陆勇个人事务,与公司无关。
截至本公告披露日,公司未收到相关机关的其他通知。

简历显示,陆勇,男,1974年生,中国国籍,无境外永久居留权,东南大学本科学历。陆勇先生现任江苏锋晖新能源发展有限公司执行董事、江苏华晖新能源有限公司董事长、江苏半步堂文化发展有限公司董事长、南京锋晖复合材料有限公司董事长等职务,现为公司实际控制人,任公司董事长、总裁职务。

图片来源:世名科技微信公众号
公开资料显示,陆勇于2024年2月通过控制权变更成为世名科技实际控制人。
2023年12月16日,世名科技披露称,公司控股股东、实控人吕仕铭拟转让公司6.81%的股权给江苏锋晖新能源发展有限公司(以下简称“江苏锋晖”),转让价格为11.8元/股,转让总价格为2.59亿元。
2024年2月2日晚间,世名科技发布公告称,吕仕铭及其一致行动人王敏、世名投资拟向江苏锋晖转让合计3277.11万股公司股份,占公司总股本比例的10.1631%。交易的转让价格为11.80元/股,转让价款共计3.87亿元。两次股权转让总计价格近6.5亿元。
同时,吕仕铭、王敏及世名投资与江苏锋晖签订了《表决权放弃协议》,一致行动人李江萍等出具了《表决权放弃承诺》,承诺在弃权期限内放弃其持有的世名科技剩余共计1.05亿股(占公司总股本比例的32.6895%)所对应的表决权。之后,世名科技控股股东变更为江苏锋晖,实控人变更为陆勇。
而江苏锋晖由陆勇100%持股。

此后,2024年8月23日,世名科技发布公告,公司第五届董事会进行调整,公司董事会选举陆勇为第五届董事会董事长,选举张华东为第五届董事会副董事长,任期自第五届董事会第八次会议审议通过之日起至第五届董事会任期届满之日止。
也就是说,陆勇入主世名科技仅一年半时间,担任董事长更是不到一年。
截至29日收盘,世名科技股价跌7.87%,报15.45元。据第一财经,当日,记者以投资者身份致电该公司,证代部人士称:“董事长被留置和上市公司无关,属于个人事务。”该人士同时表示,江苏半步堂与世名科技无业务往来,目前,上述事项尚处调查阶段,若后续董事长不能正常履职,根据公司治理体系,将由副董事长代为履职。
资料显示,世名科技成立于2001年12月11日,是国内专业从事色浆、功能添加剂及电脑调色一体化系统研发生产的科技企业。公司2016年登陆创业板。
作为国内纳米着色材料、功能性纳米分散体、特种添加剂供应服务商,世名科技目前有江苏昆山、江苏常熟、湖南岳阳、辽宁盘锦四大产业基地。
业绩方面,世名科技目前尚未公布2025年半年度业绩。公司2025年一季报显示,报告期内营业总收入为1.59亿元,较去年同报告期营业总收入减少1176.37万元,同比较去年同期下降6.89%。归母净利润为544.37万元,较去年同报告期归母净利润减少1147.15万元,同比较去年同期下降67.82%。
此次,世名科技少见的披露了老板被留置的原因:陆勇是因为江苏半步堂置业有限公司相关事宜被实施留置。
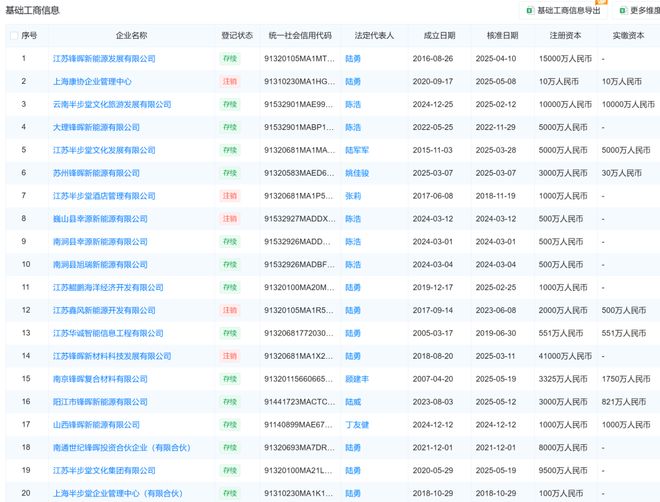
天眼查显示,江苏半步堂置业有限公司成立于2018年7月,注册地位于启东,公司经营范围包括房地产开发经营、文化艺术交流策划、企业管理咨询服务、物业管理服务、自有房屋租赁服务、停车场管理服务。陆勇是法定代表人,并且是董事长,同时还间接持有部分股份。
股权穿透图显示,陆勇并非江苏半步堂置业有限公司的实际控制人,但他是该公司受益所有人。

天眼查显示,陆勇控制的企业,有多家公司以“半步堂”命名。















