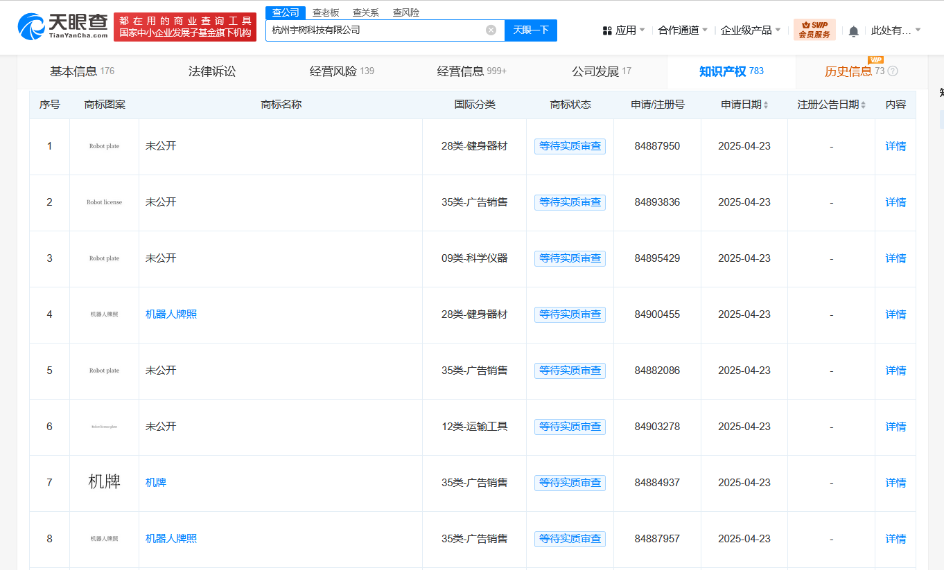
天眼查财产线索信息显示,近日,杭州宇树科技有限公司申请注册“机器人牌照”“机牌”“Robot license”“Robot plate”等商标,国际分类为科学仪器、运输工具、广告销售等,当前商标状态均为等待实质审查。
杭州宇树科技有限公司成立于2016年8月,法定代表人为王兴兴,注册资本约259.42万人民币,由王兴兴、汉海信息技术(上海)有限公司、宁波红杉科盛股权投资合伙企业(有限合伙)等共同持股。

天眼查财产线索信息显示,近日,杭州宇树科技有限公司申请注册“机器人牌照”“机牌”“Robot license”“Robot plate”等商标,国际分类为科学仪器、运输工具、广告销售等,当前商标状态均为等待实质审查。
杭州宇树科技有限公司成立于2016年8月,法定代表人为王兴兴,注册资本约259.42万人民币,由王兴兴、汉海信息技术(上海)有限公司、宁波红杉科盛股权投资合伙企业(有限合伙)等共同持股。

【责任编辑:王少晨】


扫描二维码关注"中国能源报"官方微信