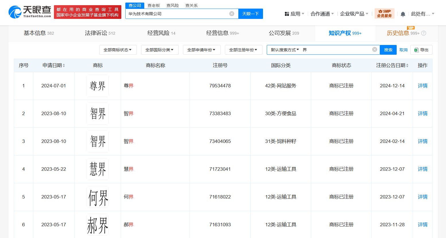
天眼查知识产权信息显示,近日,华为技术有限公司申请注册“竣界”商标,国际分类为运输工具,当前商标状态为等待实质审查。
值得一提的是,此前,华为已申请注册“智界”“霄界”“享界”“尊界”等多枚商标,当前上述商标状态多为已注册。

天眼查知识产权信息显示,近日,华为技术有限公司申请注册“竣界”商标,国际分类为运输工具,当前商标状态为等待实质审查。
值得一提的是,此前,华为已申请注册“智界”“霄界”“享界”“尊界”等多枚商标,当前上述商标状态多为已注册。

【责任编辑:王少晨】


扫描二维码关注"中国能源报"官方微信