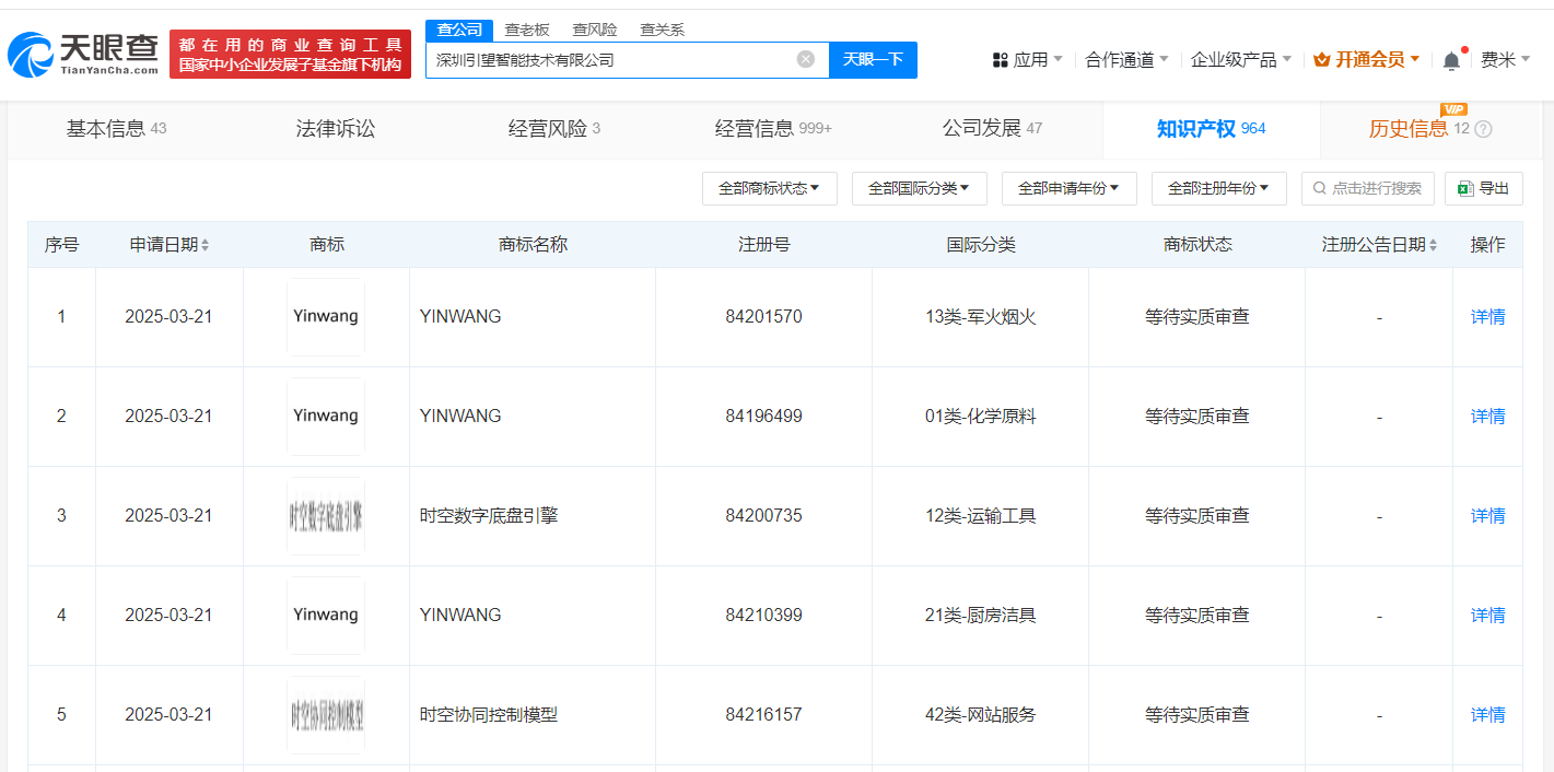
天眼查知识产权信息显示,近日,深圳引望智能技术有限公司申请注册“时空数字底盘引擎”“时空协同控制模型”商标,国际分类包括运输工具、网站服务、科学仪器等,当前商标状态均为等待实质审查。
据媒体此前报道,在今年2月的尊界S800技术发布会上,华为数字底盘引擎HUAWEI XMC首次亮相,它内置的时空推理悬架网络,结合融合感知预测网络构建空间模型等,实现全路况的调节。

天眼查知识产权信息显示,近日,深圳引望智能技术有限公司申请注册“时空数字底盘引擎”“时空协同控制模型”商标,国际分类包括运输工具、网站服务、科学仪器等,当前商标状态均为等待实质审查。
据媒体此前报道,在今年2月的尊界S800技术发布会上,华为数字底盘引擎HUAWEI XMC首次亮相,它内置的时空推理悬架网络,结合融合感知预测网络构建空间模型等,实现全路况的调节。

【责任编辑:王少晨】


扫描二维码关注"中国能源报"官方微信