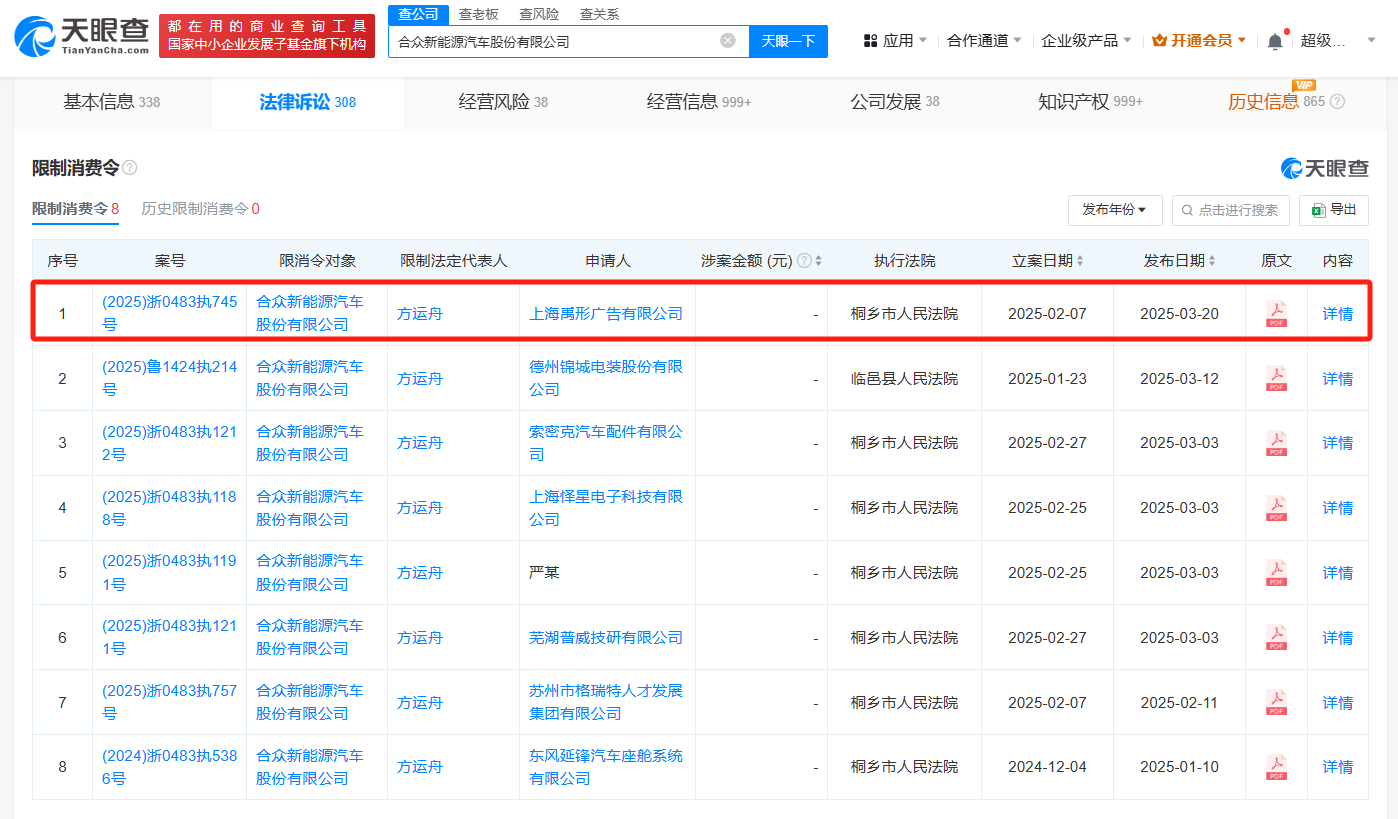
天眼查深度风险信息显示,3月20日,哪吒汽车关联公司合众新能源汽车股份有限公司及其法定代表人方运舟新增一条限制消费令,申请人为上海禹形广告有限公司,执行法院为桐乡市人民法院。此前,该公司及方运舟已多次被限制高消费。
天眼风险信息显示,合众新能源汽车股份有限公司现存30余条被执行人信息,被执行总金额超1.6亿元。此外,该公司还存在多条股权冻结信息。

天眼查深度风险信息显示,3月20日,哪吒汽车关联公司合众新能源汽车股份有限公司及其法定代表人方运舟新增一条限制消费令,申请人为上海禹形广告有限公司,执行法院为桐乡市人民法院。此前,该公司及方运舟已多次被限制高消费。
天眼风险信息显示,合众新能源汽车股份有限公司现存30余条被执行人信息,被执行总金额超1.6亿元。此外,该公司还存在多条股权冻结信息。

【责任编辑:王少晨】


扫描二维码关注"中国能源报"官方微信