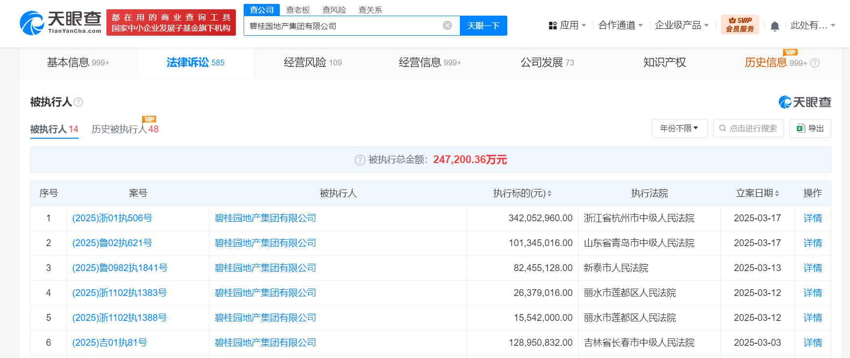
天眼查法律诉讼信息显示,3月17日,碧桂园地产集团有限公司新增2条被执行人信息,执行标的合计4.43亿余元,被执行人还包括浙江碧桂园管理咨询有限公司、青岛悦发置业有限公司,执行法院为浙江省杭州市中级人民法院、山东省青岛市中级人民法院。
天眼风险信息显示,碧桂园地产集团有限公司现存10余条被执行人信息,被执行总金额超24亿元。此外,该公司还存在多条限制消费令、失信被执行人(老赖)及终本案件信息。

天眼查法律诉讼信息显示,3月17日,碧桂园地产集团有限公司新增2条被执行人信息,执行标的合计4.43亿余元,被执行人还包括浙江碧桂园管理咨询有限公司、青岛悦发置业有限公司,执行法院为浙江省杭州市中级人民法院、山东省青岛市中级人民法院。
天眼风险信息显示,碧桂园地产集团有限公司现存10余条被执行人信息,被执行总金额超24亿元。此外,该公司还存在多条限制消费令、失信被执行人(老赖)及终本案件信息。

【责任编辑:王少晨】


扫描二维码关注"中国能源报"官方微信