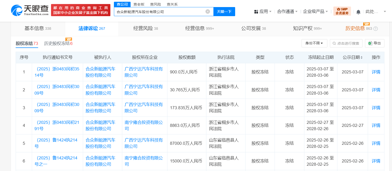
天眼查法律诉讼信息显示,近期,哪吒汽车关联公司合众新能源汽车股份有限公司新增6条股权冻结信息,股权被执行的企业分别为广西宁达汽车科技有限公司、南宁雍合投资有限公司,冻结股权数额合计约11亿人民币,冻结期限均为3年,执行法院为浙江省桐乡市人民法院、山东省临邑县人民法院。
合众新能源汽车股份有限公司成立于2014年10月,法定代表人为方运舟,注册资本约28.37亿人民币,由南宁民生新能源产业投资合伙企业(有限合伙)、北京华鼎新动力股权投资基金(有限合伙)、宜春市金合股权投资有限公司等共同持股。深度风险信息显示,该公司现存多条被执行人、限制消费令及股权冻结信息。















