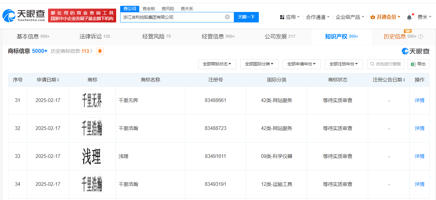
天眼查财产线索信息显示,近日,浙江吉利控股集团有限公司申请注册多枚“千里浩瀚”商标,国际分类为运输工具、网站服务、科学仪器,当前商标状态均为等待实质审查。
据媒体报道,3月3日,吉利发布统一的智驾解决方案“千里浩瀚”,宣布吉利银河系列正式升级为“吉利银河品牌”。吉利银河的全新产品都将搭载“千里浩瀚”。

天眼查财产线索信息显示,近日,浙江吉利控股集团有限公司申请注册多枚“千里浩瀚”商标,国际分类为运输工具、网站服务、科学仪器,当前商标状态均为等待实质审查。
据媒体报道,3月3日,吉利发布统一的智驾解决方案“千里浩瀚”,宣布吉利银河系列正式升级为“吉利银河品牌”。吉利银河的全新产品都将搭载“千里浩瀚”。

【责任编辑:王少晨】


扫描二维码关注"中国能源报"官方微信