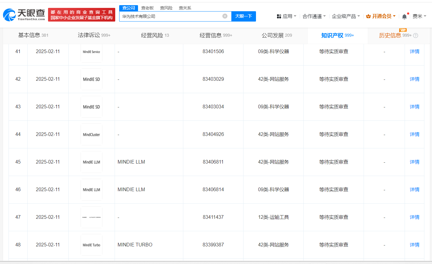
天眼查知识产权信息显示,近日,华为技术有限公司申请注册“MindIE”“MindIE Service”“MindIE LLM”等系列商标,国际分类为科学仪器、网站服务,当前商标状态均为等待实质审查。
据悉,MindIE是华为推出的高性能深度学习推理框架,专门用于昇腾硬件上的运行加速、调试调优、快速迁移部署。

天眼查知识产权信息显示,近日,华为技术有限公司申请注册“MindIE”“MindIE Service”“MindIE LLM”等系列商标,国际分类为科学仪器、网站服务,当前商标状态均为等待实质审查。
据悉,MindIE是华为推出的高性能深度学习推理框架,专门用于昇腾硬件上的运行加速、调试调优、快速迁移部署。

【责任编辑:王少晨】


扫描二维码关注"中国能源报"官方微信