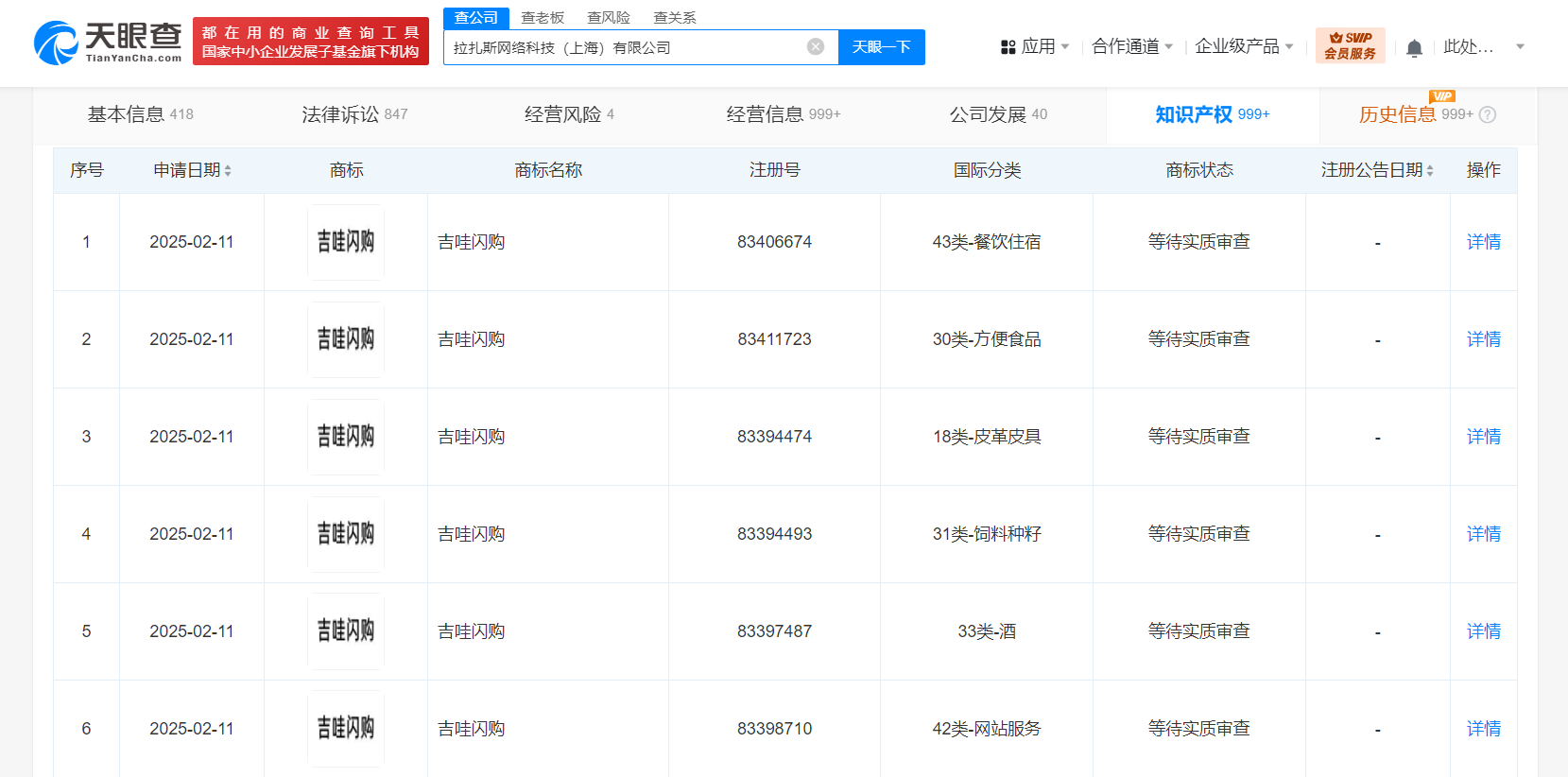
天眼查知识产权信息显示,近日,饿了么关联公司拉扎斯网络科技(上海)有限公司申请注册多枚“吉哇闪购”商标,国际分类为网站服务、餐饮住宿、教育娱乐等,当前商标状态均为等待实质审查。
拉扎斯网络科技(上海)有限公司成立于2011年9月,法定代表人为方永新,注册资本550亿人民币,由拉扎斯控股香港有限公司全资持股。

天眼查知识产权信息显示,近日,饿了么关联公司拉扎斯网络科技(上海)有限公司申请注册多枚“吉哇闪购”商标,国际分类为网站服务、餐饮住宿、教育娱乐等,当前商标状态均为等待实质审查。
拉扎斯网络科技(上海)有限公司成立于2011年9月,法定代表人为方永新,注册资本550亿人民币,由拉扎斯控股香港有限公司全资持股。

【责任编辑:王少晨】


扫描二维码关注"中国能源报"官方微信