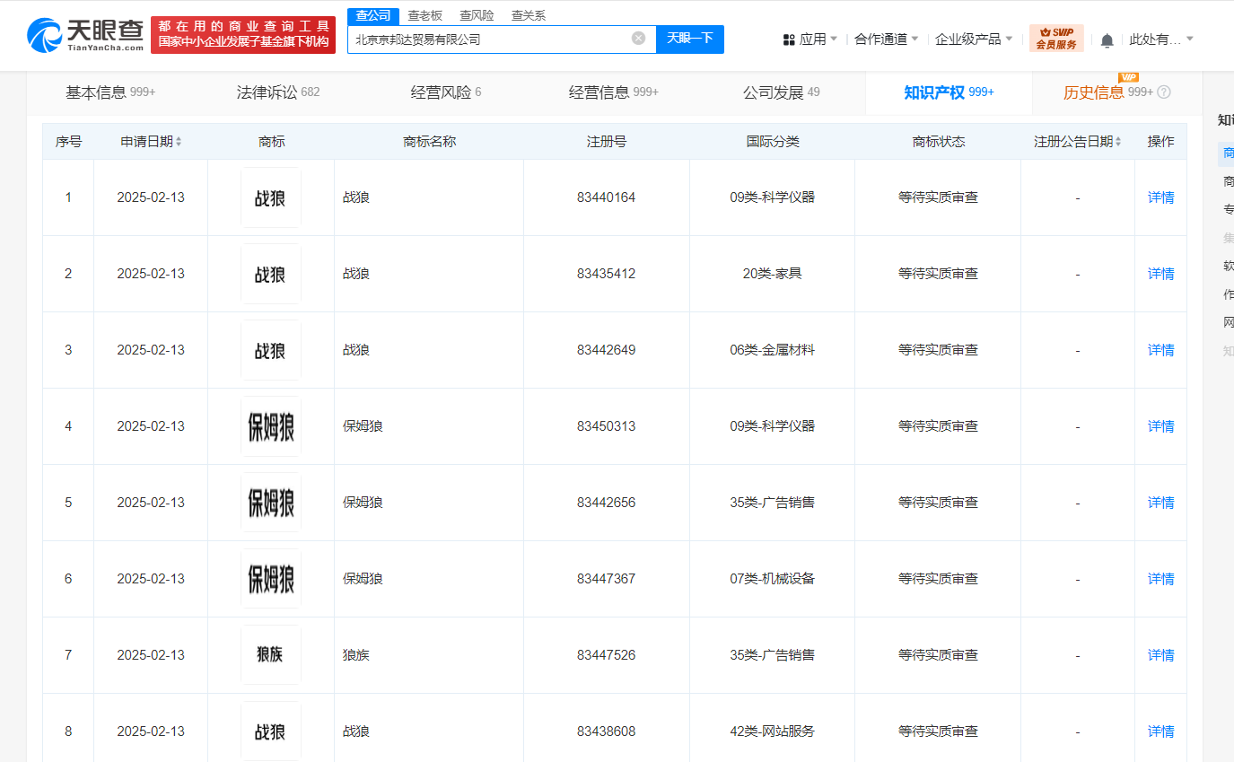
天眼查知识产权信息显示,近日,京东物流关联公司北京京邦达贸易有限公司申请注册“战狼”“保姆狼”“狼族”“独狼”商标,国际分类为网站服务、运输工具、机械设备等,当前商标状态均为等待实质审查。
北京京邦达贸易有限公司成立于2012年8月,法定代表人为陈岩磊,注册资本10亿人民币,经营范围含电子产品销售、保健食品销售、食品销售、汽车销售、国际货物运输代理、包装服务、计算机及办公设备维修等。股东信息显示,该公司由西安京东信成信息技术有限公司全资持股。

天眼查知识产权信息显示,近日,京东物流关联公司北京京邦达贸易有限公司申请注册“战狼”“保姆狼”“狼族”“独狼”商标,国际分类为网站服务、运输工具、机械设备等,当前商标状态均为等待实质审查。
北京京邦达贸易有限公司成立于2012年8月,法定代表人为陈岩磊,注册资本10亿人民币,经营范围含电子产品销售、保健食品销售、食品销售、汽车销售、国际货物运输代理、包装服务、计算机及办公设备维修等。股东信息显示,该公司由西安京东信成信息技术有限公司全资持股。

【责任编辑:王少晨】


扫描二维码关注"中国能源报"官方微信