天眼查知识产权信息显示,近日,北京理想汽车有限公司申请注册多枚“三助一师”商标,国际分类包含运输工具、网站服务、教育娱乐等,当前商标状态均为等待实质审查。
公开信息显示,理想汽车中的“三助一师”主要指的是其智能座舱中的AI语音助手设计理念,包括用车助手、出行助手、娱乐助手、百科老师四个角色。

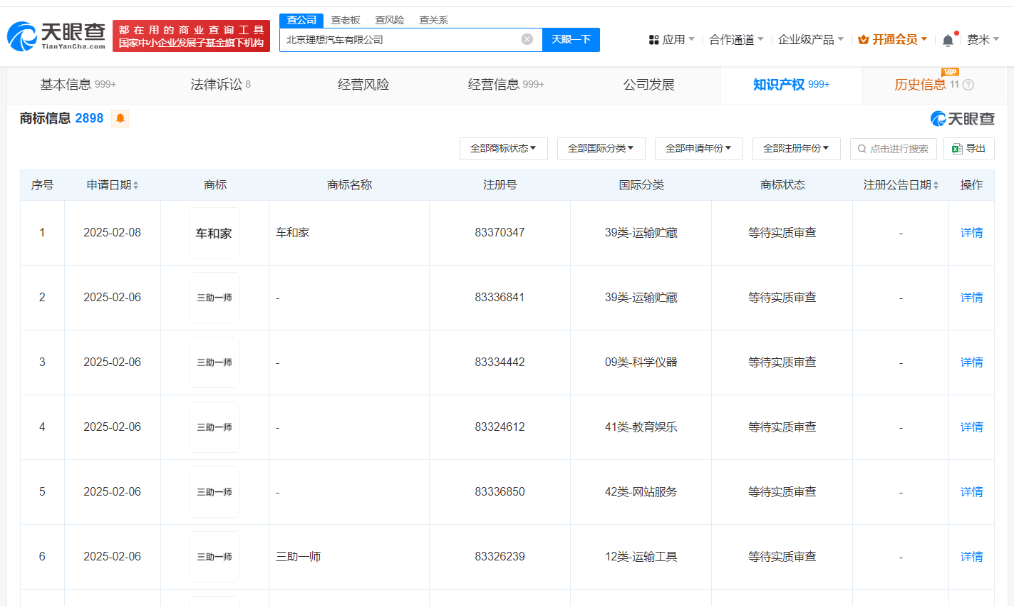
天眼查知识产权信息显示,近日,北京理想汽车有限公司申请注册多枚“三助一师”商标,国际分类包含运输工具、网站服务、教育娱乐等,当前商标状态均为等待实质审查。
公开信息显示,理想汽车中的“三助一师”主要指的是其智能座舱中的AI语音助手设计理念,包括用车助手、出行助手、娱乐助手、百科老师四个角色。

【责任编辑:王少晨】


扫描二维码关注"中国能源报"官方微信