2月13日下午,据网络平台数据,电影《哪吒之魔童闹海》总票房(含点映、预售及海外票房)已突破98亿元。
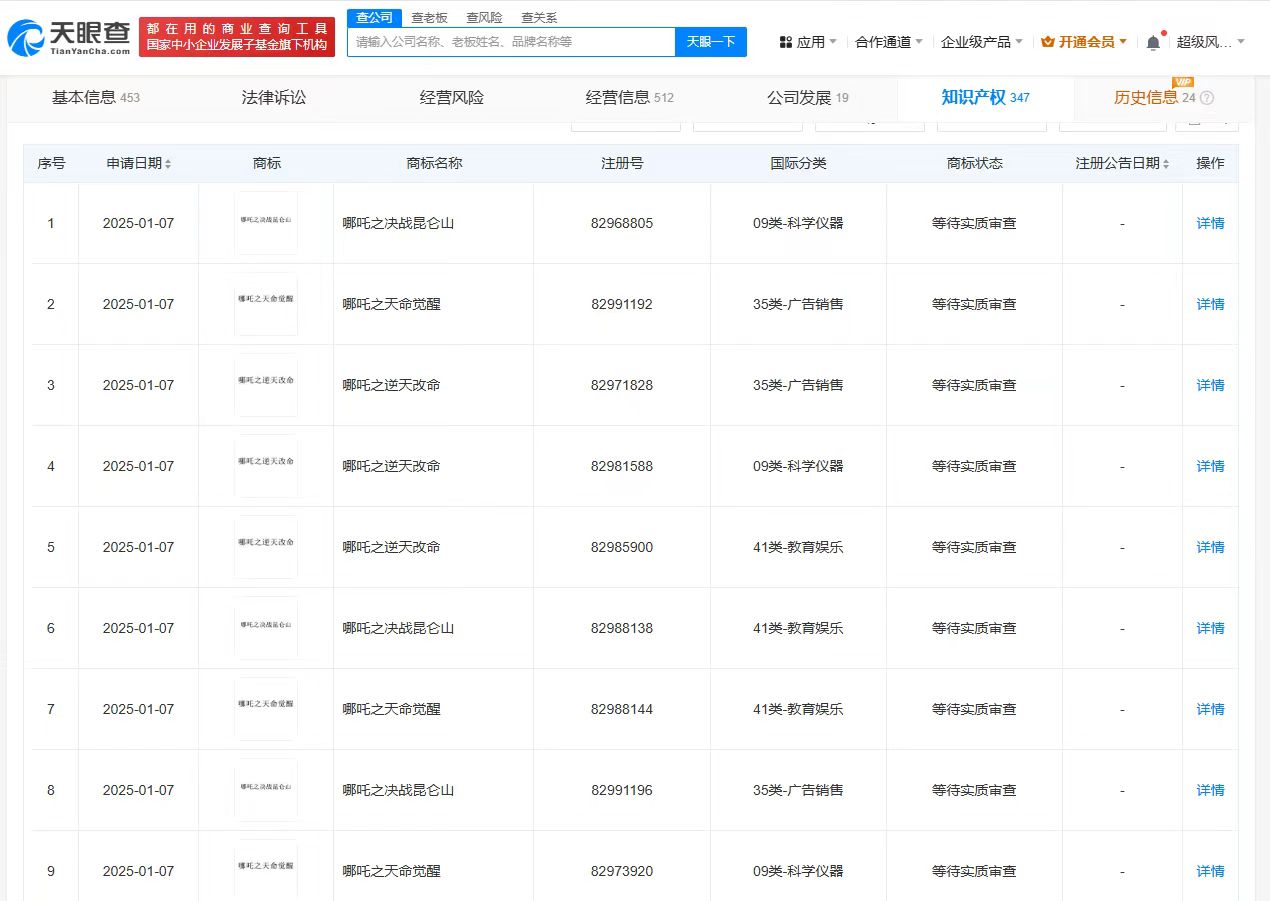
天眼查知识产权信息显示,近期,深圳某公司申请注册了多枚“哪吒之决战昆仑山”“哪吒之逆天改命”“哪吒之天命觉醒”商标,国际分类涉及广告销售、教育娱乐、科学仪器,当前商标状态均为等待实质审查。

2月13日下午,据网络平台数据,电影《哪吒之魔童闹海》总票房(含点映、预售及海外票房)已突破98亿元。
天眼查知识产权信息显示,近期,深圳某公司申请注册了多枚“哪吒之决战昆仑山”“哪吒之逆天改命”“哪吒之天命觉醒”商标,国际分类涉及广告销售、教育娱乐、科学仪器,当前商标状态均为等待实质审查。

【责任编辑:王少晨】


扫描二维码关注"中国能源报"官方微信