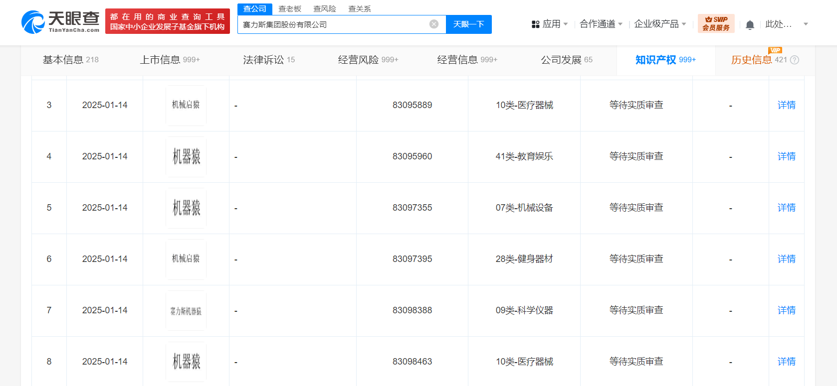
天眼查知识产权信息显示,近日,赛力斯集团股份有限公司申请注册“赛力斯机器猿”“机器猿”“机械启猿”商标,国际分类含科学仪器、运输工具、机械设备等,当前商标状态均为等待实质审查。
赛力斯集团股份有限公司成立于2007年5月,法定代表人为张正萍,注册资本约14.97亿人民币,由重庆小康控股有限公司、东风汽车集团有限公司、重庆渝安汽车工业有限公司等共同持股。

天眼查知识产权信息显示,近日,赛力斯集团股份有限公司申请注册“赛力斯机器猿”“机器猿”“机械启猿”商标,国际分类含科学仪器、运输工具、机械设备等,当前商标状态均为等待实质审查。
赛力斯集团股份有限公司成立于2007年5月,法定代表人为张正萍,注册资本约14.97亿人民币,由重庆小康控股有限公司、东风汽车集团有限公司、重庆渝安汽车工业有限公司等共同持股。

【责任编辑:王少晨】


扫描二维码关注"中国能源报"官方微信