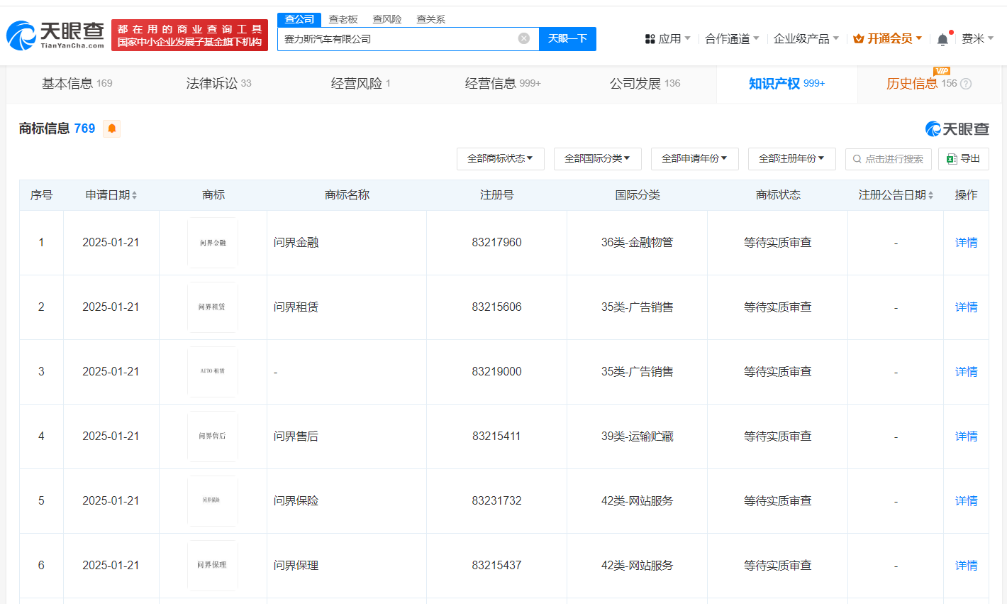
天眼查知识产权信息显示,近日,赛力斯汽车有限公司申请注册多枚“问界二手车”“问界金融”“问界售后”“问界二手车”“问界保险”等商标,国际分类包含金融物管、广告销售、运输贮藏等,当前商标状态均为等待实质审查。
赛力斯汽车有限公司成立于2012年9月,法定代表人为岑远川,注册资本约100.8亿人民币,经营范围含汽车研发及相关技术的技术咨询、技术服务、技术成果转让等,由赛力斯(601127)、国开制造业转型升级基金(有限合伙)共同持股。

天眼查知识产权信息显示,近日,赛力斯汽车有限公司申请注册多枚“问界二手车”“问界金融”“问界售后”“问界二手车”“问界保险”等商标,国际分类包含金融物管、广告销售、运输贮藏等,当前商标状态均为等待实质审查。
赛力斯汽车有限公司成立于2012年9月,法定代表人为岑远川,注册资本约100.8亿人民币,经营范围含汽车研发及相关技术的技术咨询、技术服务、技术成果转让等,由赛力斯(601127)、国开制造业转型升级基金(有限合伙)共同持股。

【责任编辑:王少晨】


扫描二维码关注"中国能源报"官方微信