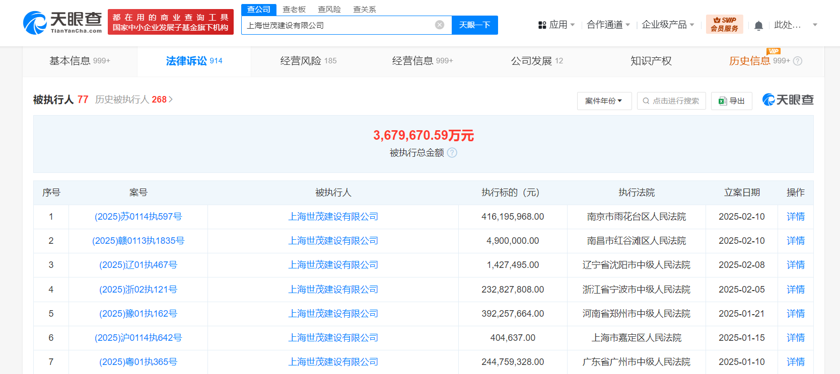
天眼查法律诉讼信息显示,2月10日,上海世茂建设有限公司新增2条被执行人信息,执行标的合计4.2亿余元,涉及金融借款合同纠纷等案件,被执行人还包括南京世耀置业有限公司、平安不动产有限公司等,执行法院为南京市雨花台区人民法院、南昌市红谷滩区人民法院。
天眼风险信息显示,上海世茂建设有限公司现存70余条被执行人信息,被执行总金额超367亿元。此外,该公司还存在多条限制消费令、失信被执行人(老赖)及终本案件信息。

天眼查法律诉讼信息显示,2月10日,上海世茂建设有限公司新增2条被执行人信息,执行标的合计4.2亿余元,涉及金融借款合同纠纷等案件,被执行人还包括南京世耀置业有限公司、平安不动产有限公司等,执行法院为南京市雨花台区人民法院、南昌市红谷滩区人民法院。
天眼风险信息显示,上海世茂建设有限公司现存70余条被执行人信息,被执行总金额超367亿元。此外,该公司还存在多条限制消费令、失信被执行人(老赖)及终本案件信息。

【责任编辑:王少晨】


扫描二维码关注"中国能源报"官方微信