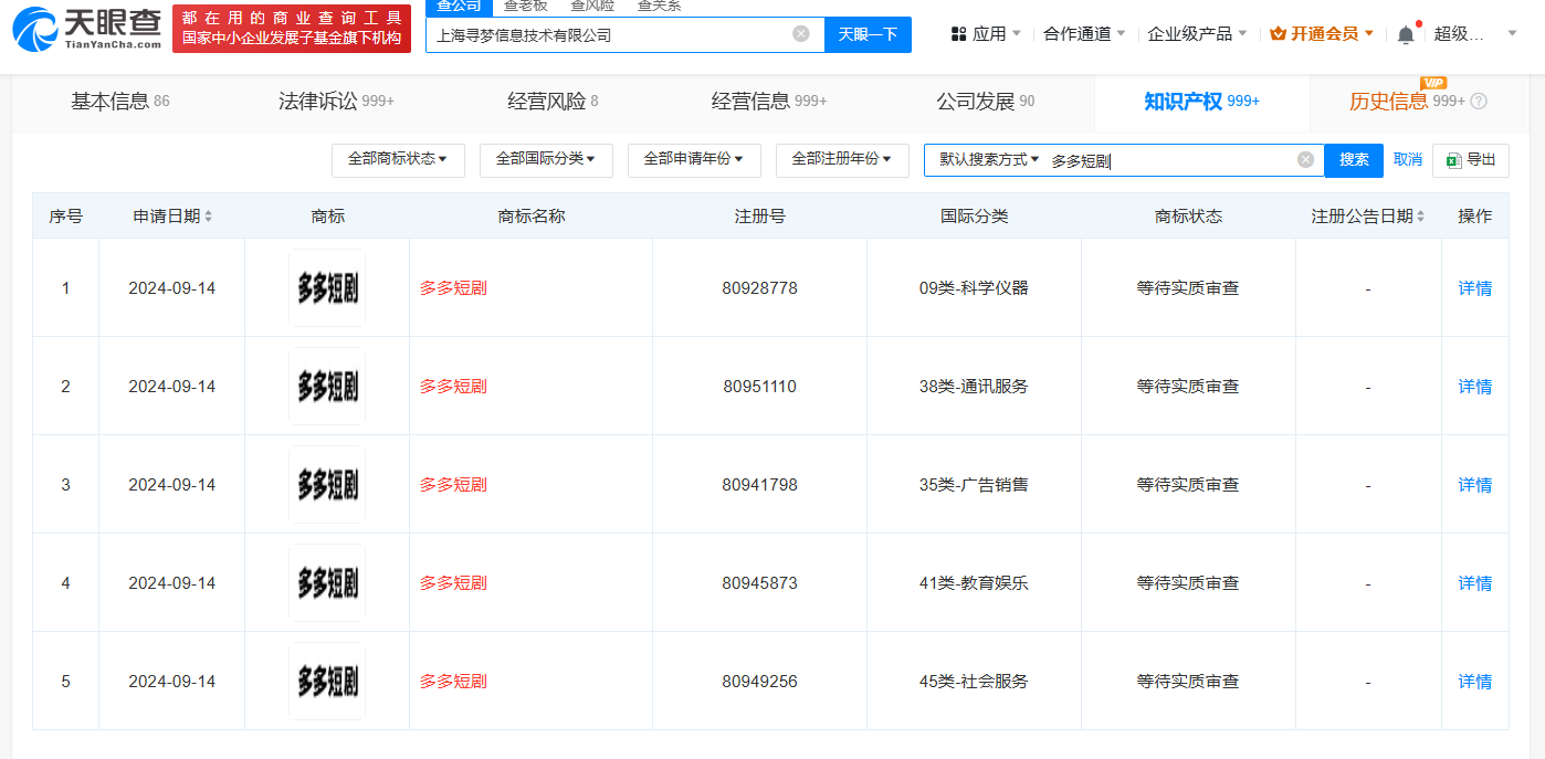
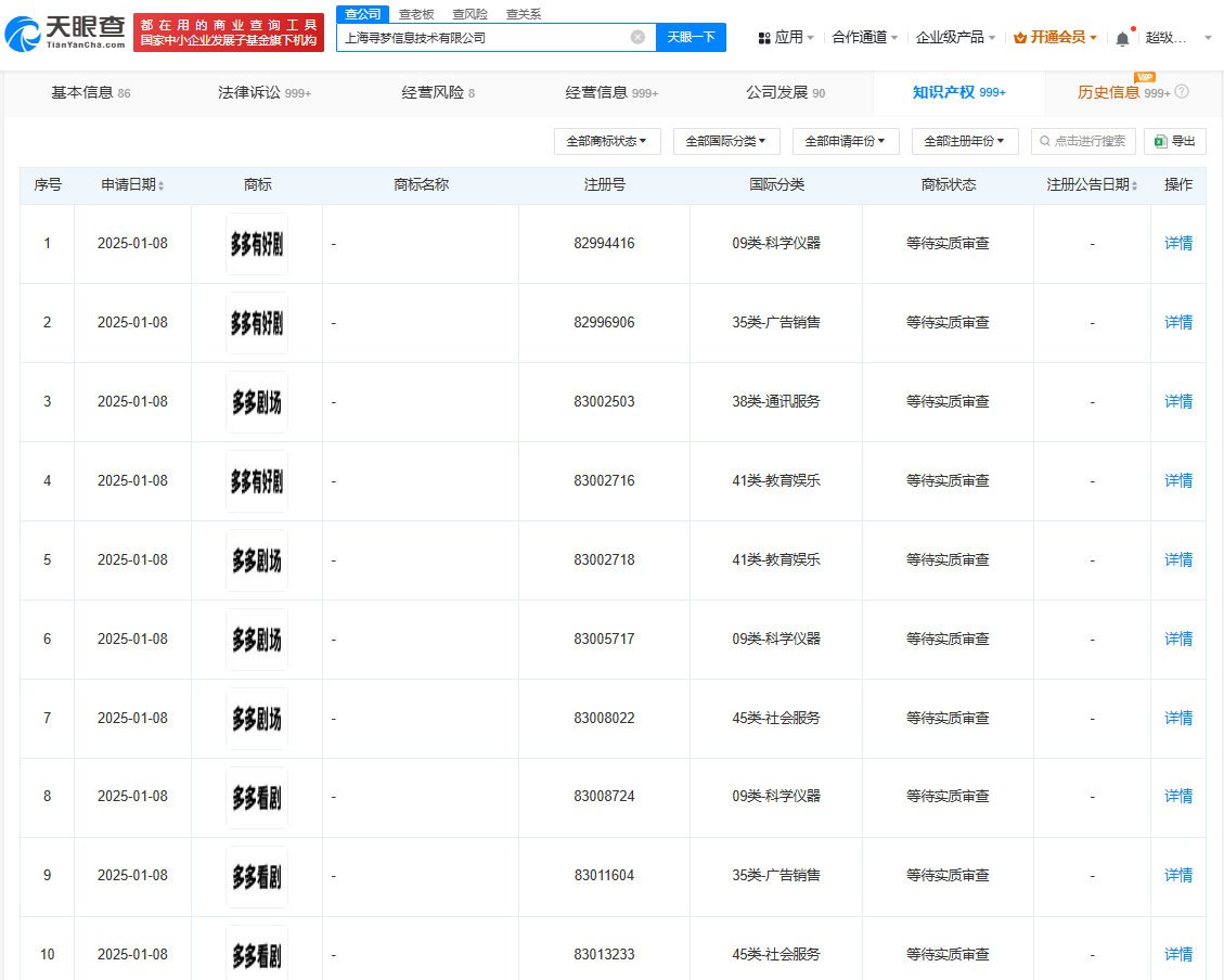
天眼查App显示,近期,拼多多关联公司上海寻梦信息技术有限公司申请注册多枚“多多剧场”“多多有好剧”“多多看剧”商标,国际分类涉及教育娱乐、广告销售、科学仪器等,当前商标状态均为等待实质审查。值得注意的是,2024年9月,该公司还申请注册了多枚“多多短剧”商标。


天眼查App显示,近期,拼多多关联公司上海寻梦信息技术有限公司申请注册多枚“多多剧场”“多多有好剧”“多多看剧”商标,国际分类涉及教育娱乐、广告销售、科学仪器等,当前商标状态均为等待实质审查。值得注意的是,2024年9月,该公司还申请注册了多枚“多多短剧”商标。


【责任编辑:王少晨】


扫描二维码关注"中国能源报"官方微信