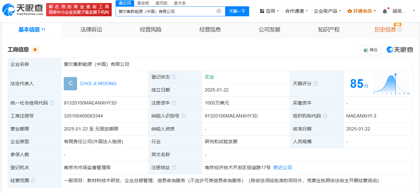
天眼查App显示,近日,爱尔集新能源(中国)有限公司成立,法定代表人为CHOI JI WOONG,注册资本1000万美元,经营范围包括新材料技术研发、企业总部管理、信息咨询服务,由株式会社LG新能源全资持股。
据报道,去年12月,在2024世界智能制造大会重大项目签约仪式上,LG新能源官宣中国总部正式落户南京经济技术开发区。LG新能源中国区总裁崔智雄介绍,该总部将统筹LG新能源在华子公司的会计、税务、法律、物流、采购等业务,管理跨境资金池,兼顾开展新能源电池及材料的研发并负责上下游产业链投资工作。















