据报道,近日,一批国外TikTok用户涌入小红书,一些美国网友发现,马斯克的母亲梅耶马斯克也在小红书开了账号,引发美国网友热评。据悉,小红书国际版名为“REDnote”。
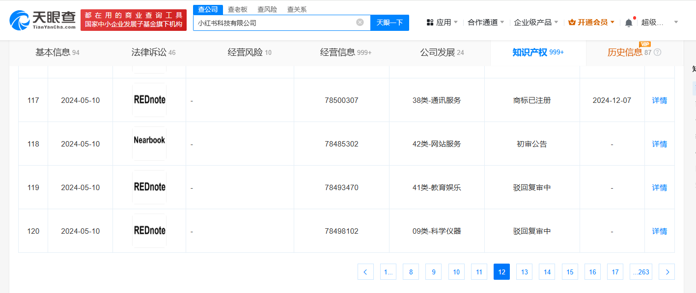
天眼查App显示,小红书科技有限公司已于2024年5月申请注册多枚“REDnote”商标,国际分类涉及通讯服务、教育娱乐、科学仪器等。近期,该公司申请的通讯服务、社会服务类“REDnote”已成功注册,其余商标均已被驳回复审。
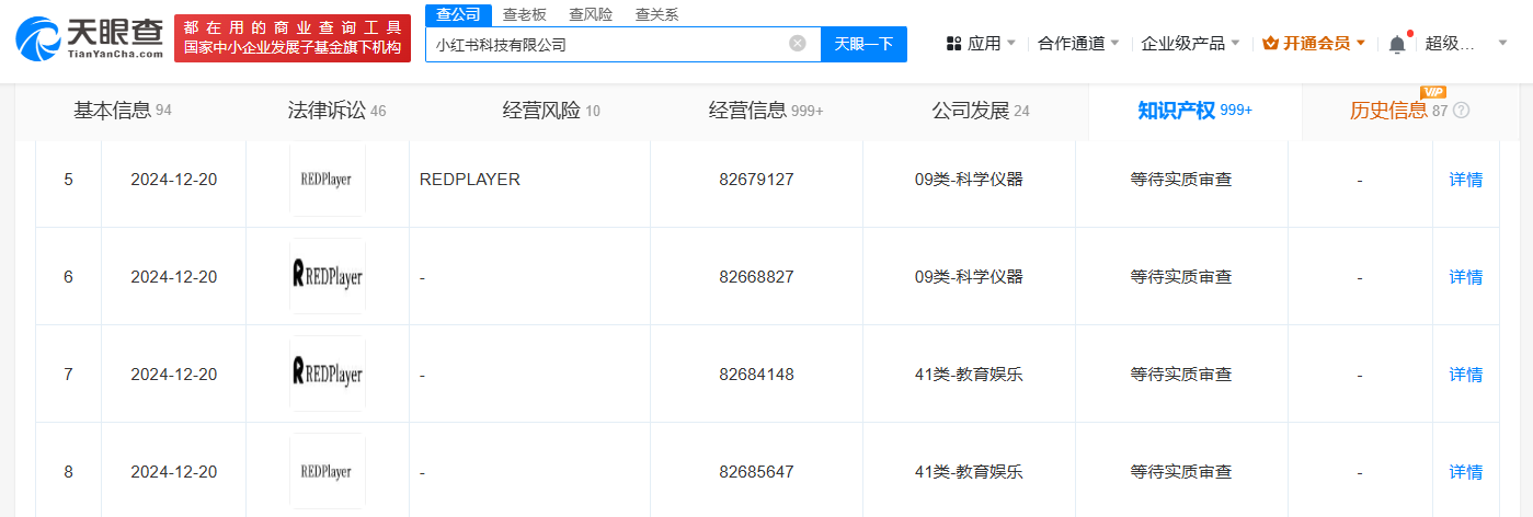
值得注意的是,近日,小红书科技有限公司申请注册了多枚“REDPlayer”商标,国际分类涉及科学仪器、教育娱乐,当前商标状态均为等待实质审查。
















