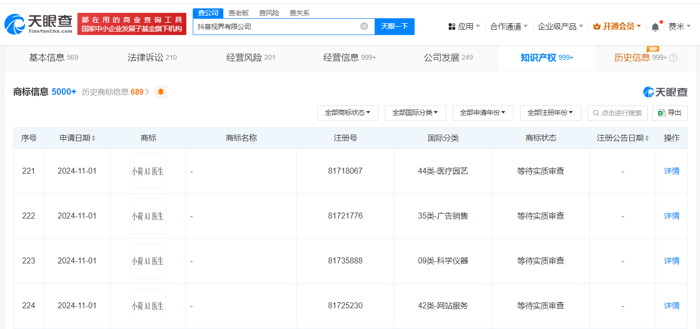
天眼查知识产权信息显示,近日,抖音视界有限公司登记“小荷AI医生”美术作品著作权。值得一提的是,近期,该公司申请注册4枚“小荷AI医生”商标,国际分类为医疗园艺、广告销售、科学仪器、网站服务,当前商标状态为等待实质审查。
抖音视界有限公司成立于2012年7月,法定代表人为韩尚佑,注册资本3亿美元,经营范围含计算机技术培训、销售自行开发产品、委托加工计算机及辅助设备等,由抖音集团(香港)有限公司全资持股。

天眼查知识产权信息显示,近日,抖音视界有限公司登记“小荷AI医生”美术作品著作权。值得一提的是,近期,该公司申请注册4枚“小荷AI医生”商标,国际分类为医疗园艺、广告销售、科学仪器、网站服务,当前商标状态为等待实质审查。
抖音视界有限公司成立于2012年7月,法定代表人为韩尚佑,注册资本3亿美元,经营范围含计算机技术培训、销售自行开发产品、委托加工计算机及辅助设备等,由抖音集团(香港)有限公司全资持股。

【责任编辑:王少晨】


扫描二维码关注"中国能源报"官方微信