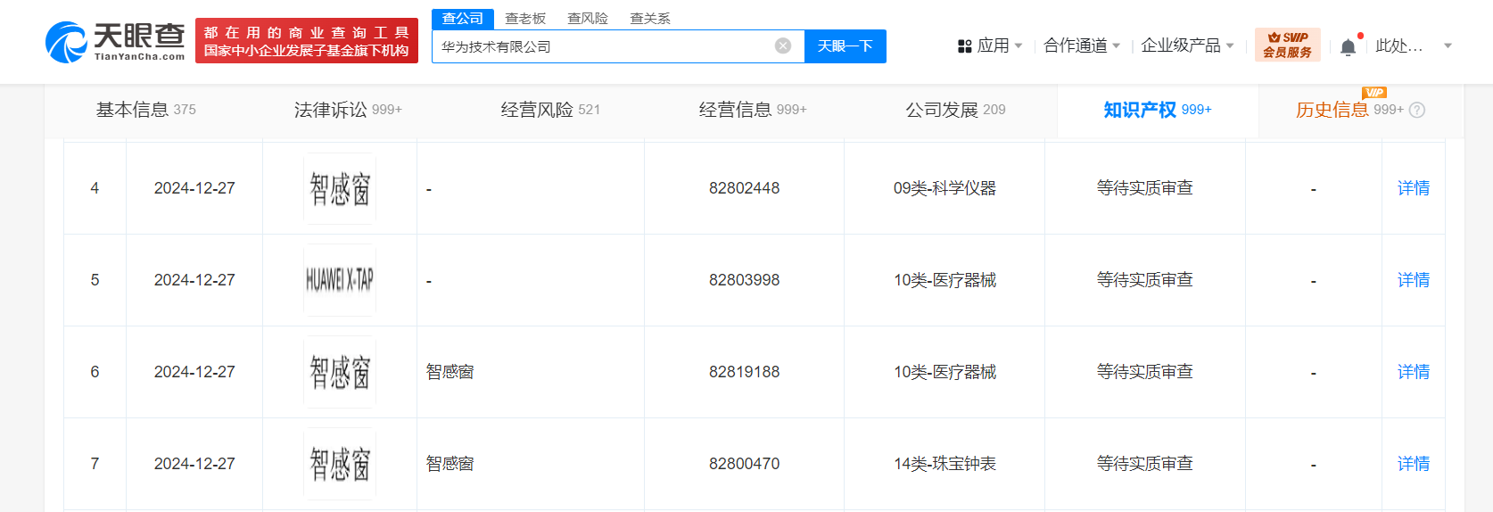
天眼查知识产权信息显示,近日,华为技术有限公司申请注册三枚“智感窗”商标,国际分类为科学仪器、医疗器械、珠宝钟表,当前商标状态均为等待实质审查。
公开信息显示,华为智慧感知是华为手机提供的一系列便捷操作功能,这些功能包括智感支付、智感扫码、隔空滑动屏幕、隔空截屏等。

天眼查知识产权信息显示,近日,华为技术有限公司申请注册三枚“智感窗”商标,国际分类为科学仪器、医疗器械、珠宝钟表,当前商标状态均为等待实质审查。
公开信息显示,华为智慧感知是华为手机提供的一系列便捷操作功能,这些功能包括智感支付、智感扫码、隔空滑动屏幕、隔空截屏等。

【责任编辑:王少晨】


扫描二维码关注"中国能源报"官方微信