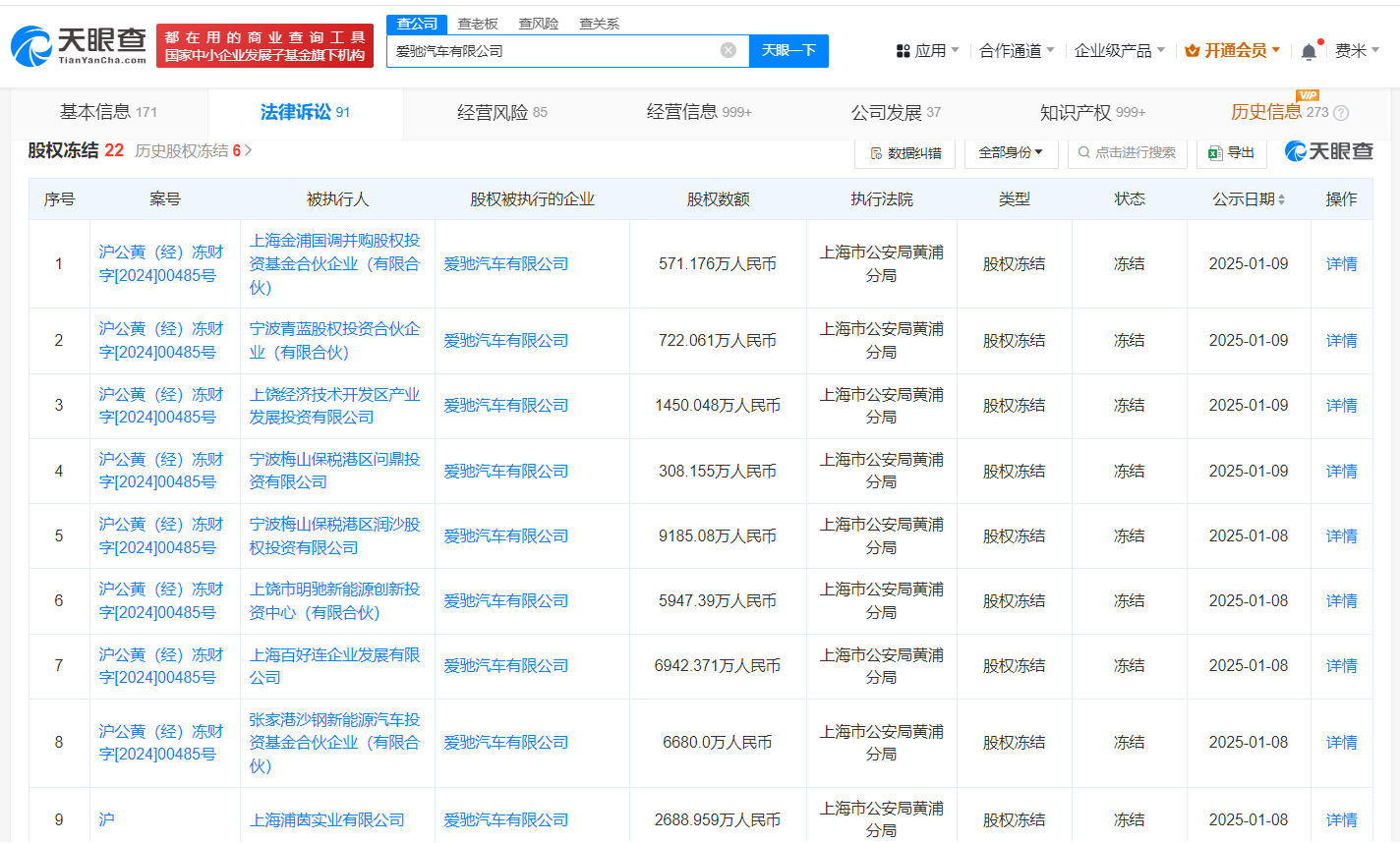
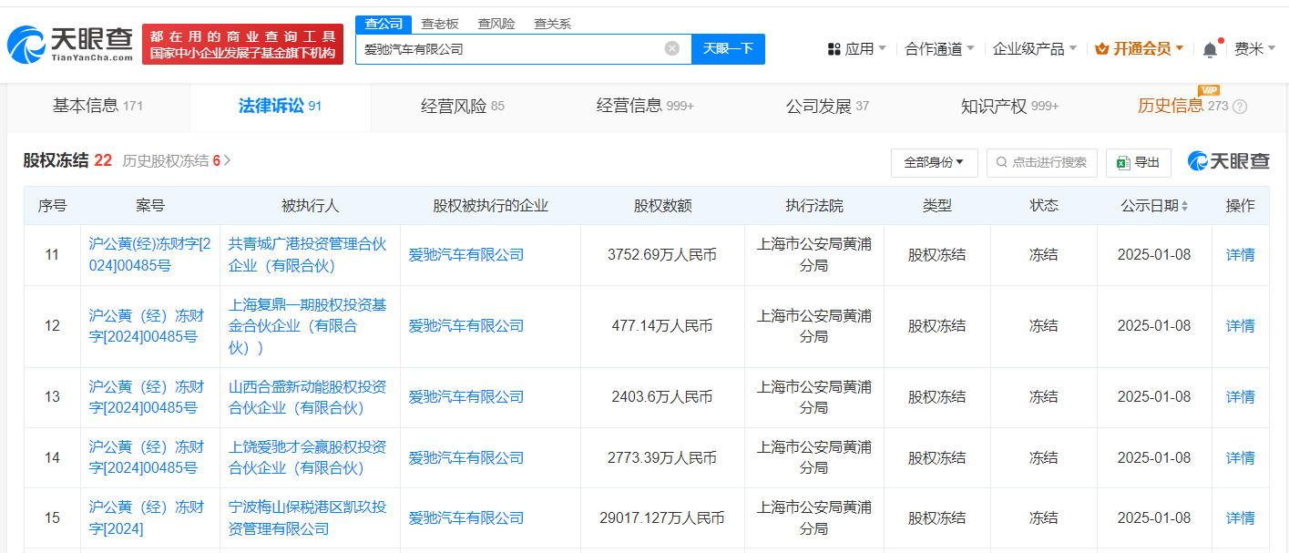
天眼查深度风险信息显示,近日,爱驰汽车有限公司新增10余条股权冻结信息,股权被执行的企业为该公司,被执行人包括该公司的股东上海金浦国调并购股权投资基金合伙企业(有限合伙)、宁波青蓝股权投资合伙企业(有限合伙)等,冻结股权数额合计8.6亿余元,执行法院为上海市公安局黄浦分局。
爱驰汽车有限公司成立于2017年2月,法定代表人为郭超,注册资本约8.7亿人民币,经营范围含从事新能源汽车及零部件的技术研发、产品开发等,由宁波梅山保税港区凯玖投资管理有限公司、湖州奥驰投资合伙企业(有限合伙)、宁波梅山保税港区润沙股权投资有限公司等共同持股。
















