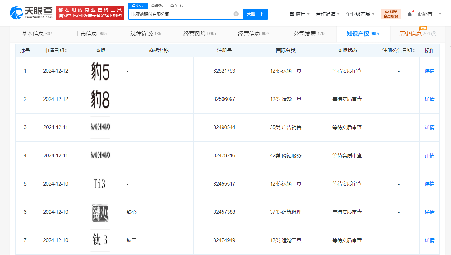
天眼查知识产权信息显示,近日,比亚迪股份有限公司申请注册“豹5”“豹8”“钛3”商标,国际分类为运输工具,当前商标状态均为等待实质审查。
公开信息显示,豹5、豹8、钛3均为比亚迪旗下方程豹系列车型,专注于新能源汽车领域,尤其是个性化和硬派越野车型。

天眼查知识产权信息显示,近日,比亚迪股份有限公司申请注册“豹5”“豹8”“钛3”商标,国际分类为运输工具,当前商标状态均为等待实质审查。
公开信息显示,豹5、豹8、钛3均为比亚迪旗下方程豹系列车型,专注于新能源汽车领域,尤其是个性化和硬派越野车型。

【责任编辑:王少晨】


扫描二维码关注"中国能源报"官方微信