天眼查法律诉讼信息显示,近日,深圳正威(集团)有限公司、中铜矿业资源有限公司新增一条被执行人信息,执行标的3.55亿余元,执行法院为河北省廊坊市中级人民法院。
天眼风险信息显示,深圳正威(集团)有限公司现存70余条被执行人信息,被执行总金额超158亿元。此外,该公司还存在多条限制消费令、失信被执行人(老赖)和终本案件信息。

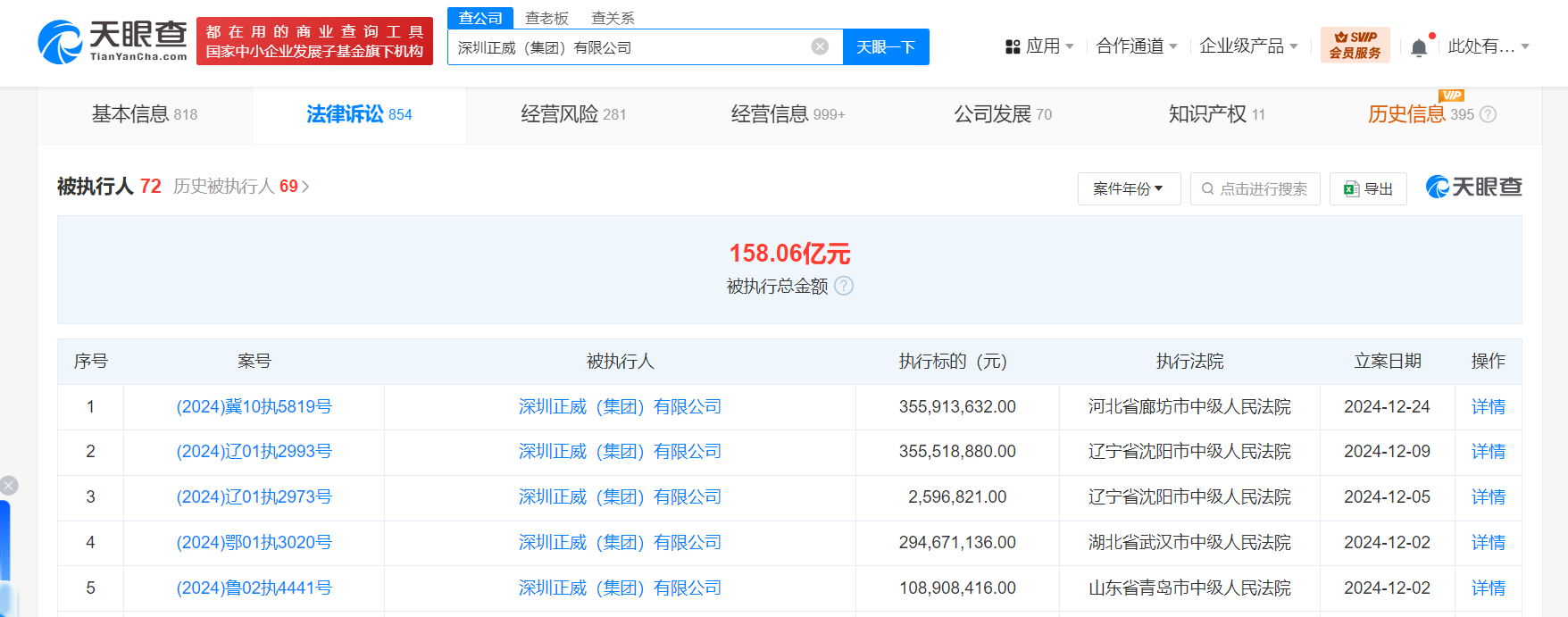
天眼查法律诉讼信息显示,近日,深圳正威(集团)有限公司、中铜矿业资源有限公司新增一条被执行人信息,执行标的3.55亿余元,执行法院为河北省廊坊市中级人民法院。
天眼风险信息显示,深圳正威(集团)有限公司现存70余条被执行人信息,被执行总金额超158亿元。此外,该公司还存在多条限制消费令、失信被执行人(老赖)和终本案件信息。

【责任编辑:王少晨】


扫描二维码关注"中国能源报"官方微信