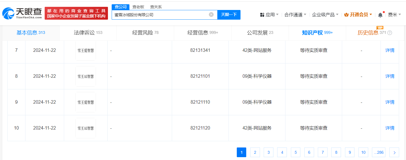
天眼查知识产权信息显示,近日,蜜雪冰城股份有限公司申请注册“雪王AI智慧”“雪王爱智慧”商标各两枚,国际分类均为科学仪器、网站服务,目前商标状态均为等待实质审查。
今年11月,蜜雪冰城旗下郑州宝岛科技有限公司、河南雪王科技有限公司成立了雪王爱智慧科技(郑州)有限公司,后者经营范围包含人工智能公共数据平台、人工智能基础软件开发、智能机器人销售等。据报道,该公司总经理苏虎臣接受采访时表示,蜜雪冰城计划引入AI识别技术,对餐饮制作过程进行全方位、无死角的监控。


天眼查知识产权信息显示,近日,蜜雪冰城股份有限公司申请注册“雪王AI智慧”“雪王爱智慧”商标各两枚,国际分类均为科学仪器、网站服务,目前商标状态均为等待实质审查。
今年11月,蜜雪冰城旗下郑州宝岛科技有限公司、河南雪王科技有限公司成立了雪王爱智慧科技(郑州)有限公司,后者经营范围包含人工智能公共数据平台、人工智能基础软件开发、智能机器人销售等。据报道,该公司总经理苏虎臣接受采访时表示,蜜雪冰城计划引入AI识别技术,对餐饮制作过程进行全方位、无死角的监控。


【责任编辑:王少晨】


扫描二维码关注"中国能源报"官方微信