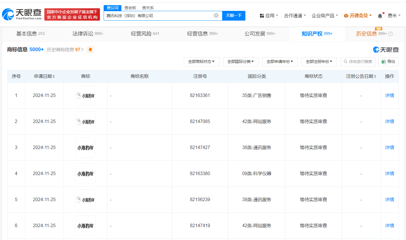
天眼查知识产权信息显示,近日,腾讯科技(深圳)有限公司申请注册多枚“小海豹AI”商标,国际分类包含广告销售、网站服务、通讯服务等,当前商标状态均为等待实质审查。
腾讯技术公益网站显示,“碳LIVE 小海豹AI助手”轻松构建机构自身的大模型对话助手。

天眼查知识产权信息显示,近日,腾讯科技(深圳)有限公司申请注册多枚“小海豹AI”商标,国际分类包含广告销售、网站服务、通讯服务等,当前商标状态均为等待实质审查。
腾讯技术公益网站显示,“碳LIVE 小海豹AI助手”轻松构建机构自身的大模型对话助手。

【责任编辑:刘澄谚】


扫描二维码关注"中国能源报"官方微信