抖音申请注册多枚好看系列商标

来源:中国能源网2024年12月02日 17:40

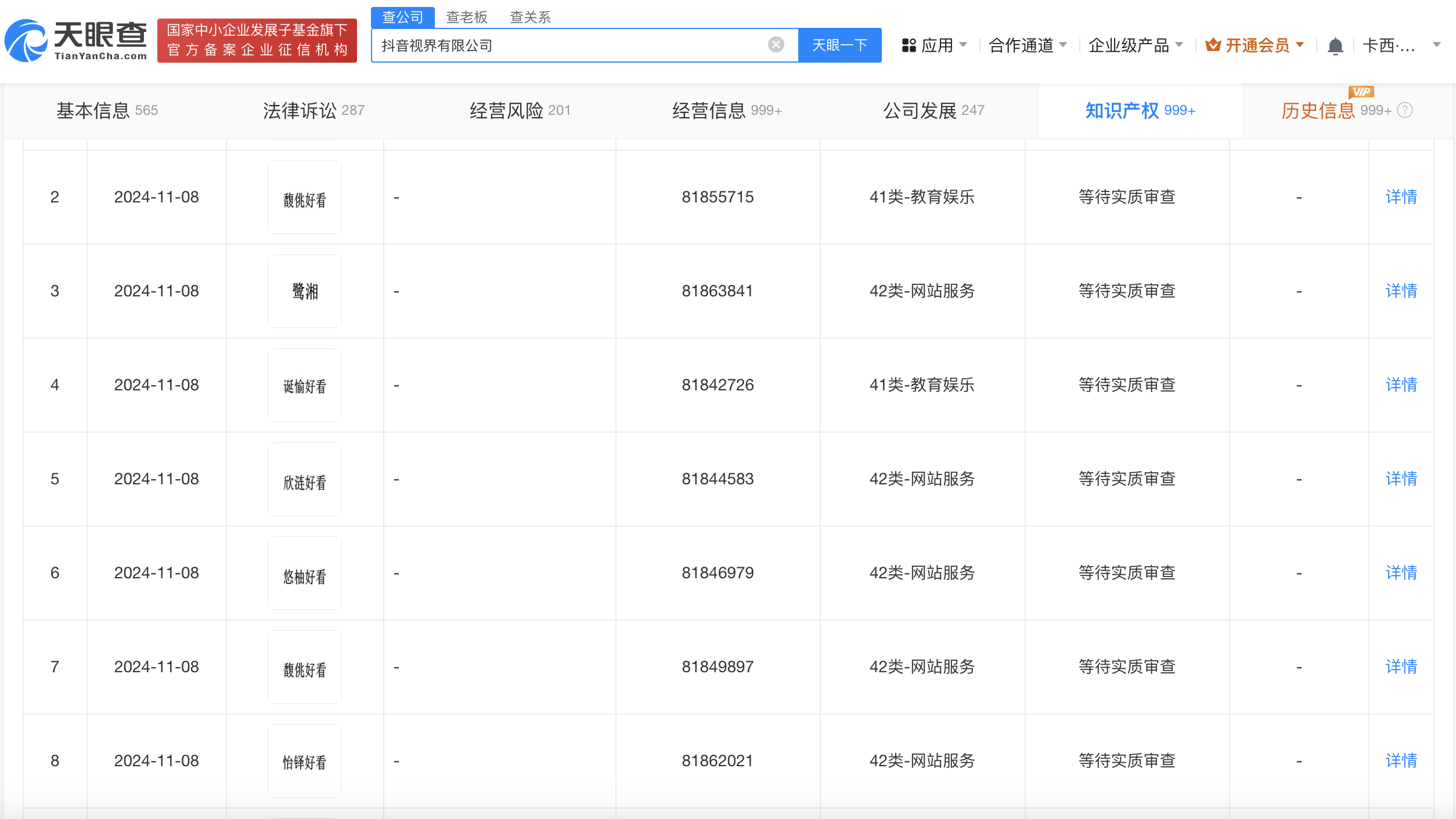
天眼查知识产权信息显示,近日,抖音视界有限公司申请注册多枚“诞愉好看”“欣涟好看”“悠柚好看”等商标,国际分类包括教育娱乐、网站服务等,当前商标状态为等待实质审查。

【责任编辑:王少晨】

投稿与新闻线索: 微信/手机: 15910626987 邮箱: 95866527@qq.com
中国能源网官方微信二维码
欢迎关注中国能源官方网站
分享让更多人看到
中国能源网版权作品,未经书面授权,严禁转载或镜像,违者将被追究法律责任。

即时新闻

要闻推荐

热点专题

精彩视频

守牢大国能源“饭碗” 铸强矿山革新“引擎”——武强院士解码新时代能源保障与转型之路
上海市监局回应韩束被曝添加禁用成分:进一步核实调查中
能源奋楫·强国鼎新——扬帆“十五五” 开局最“一线”
运满满到货加价2600 中途为何多了一手?

精彩图集

再访美军空袭后的拉瓜伊拉港
华盛顿举行反对联邦执法人员暴力执法抗议活动
首批下穿太湖超大直径盾构机下线
沪宁合高铁南京特大桥跨滁河斜拉桥顺利合龙
抖音申请注册多枚好看系列商标
分享到: