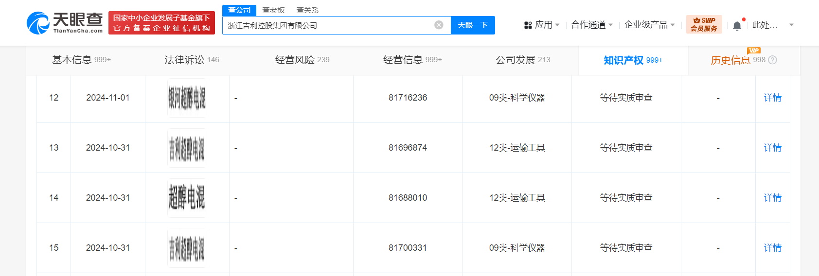
天眼查知识产权信息显示,近日,浙江吉利控股集团有限公司申请注册“超醇电混”“吉利超醇电混”“银河超醇电混”商标,国际分类为运输工具、科学仪器,当前商标状态均为等待实质审查。
据媒体报道,近期,吉利控股集团董事长李书福在2024绿色甲醇能源产业发展论坛上表示,在乘用车领域,吉利下一代甲醇乘用车采用“醇氢动力”的超醇电混技术。

天眼查知识产权信息显示,近日,浙江吉利控股集团有限公司申请注册“超醇电混”“吉利超醇电混”“银河超醇电混”商标,国际分类为运输工具、科学仪器,当前商标状态均为等待实质审查。
据媒体报道,近期,吉利控股集团董事长李书福在2024绿色甲醇能源产业发展论坛上表示,在乘用车领域,吉利下一代甲醇乘用车采用“醇氢动力”的超醇电混技术。

【责任编辑:王少晨】


扫描二维码关注"中国能源报"官方微信