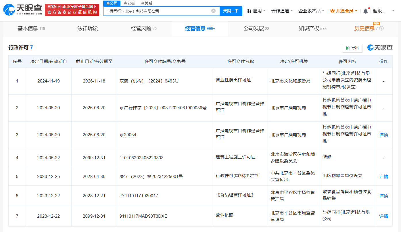
天眼查App显示,近日,与辉同行(北京)科技有限公司新增营业性演出许可证,许可内容为申请设立内资演出经纪机构审批,有效期自2024年11月19日至2026年11月18日,许可机关为北京市文化和旅游局。此前,该公司已获得广播电视节目制作经营许可证。
与辉同行(北京)科技有限公司成立于2023年12月,注册资本1000万人民币,董宇辉为法定代表人并全资持股。变更信息显示,近日,董宇辉在该公司由执行董事变更为董事。

天眼查App显示,近日,与辉同行(北京)科技有限公司新增营业性演出许可证,许可内容为申请设立内资演出经纪机构审批,有效期自2024年11月19日至2026年11月18日,许可机关为北京市文化和旅游局。此前,该公司已获得广播电视节目制作经营许可证。
与辉同行(北京)科技有限公司成立于2023年12月,注册资本1000万人民币,董宇辉为法定代表人并全资持股。变更信息显示,近日,董宇辉在该公司由执行董事变更为董事。

【责任编辑:王少晨】


扫描二维码关注"中国能源报"官方微信