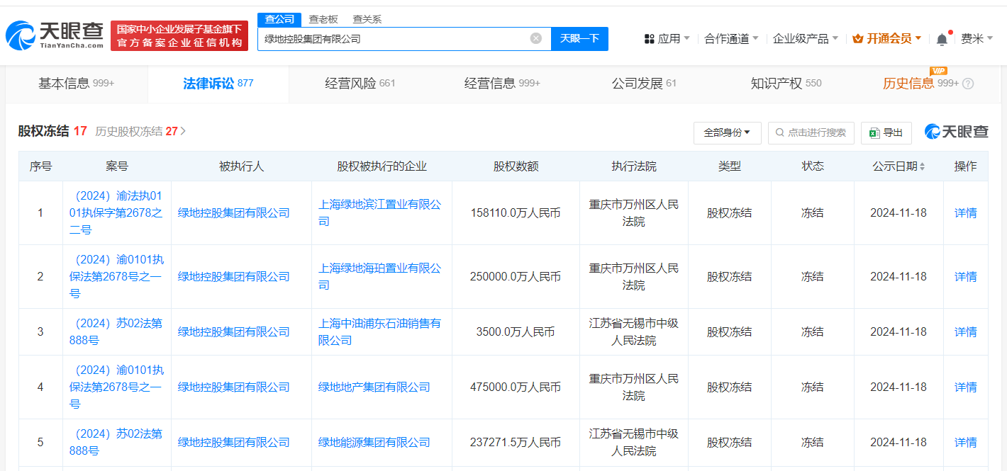
天眼查天眼风险信息显示,近日,绿地控股集团有限公司新增5条股权冻结信息,股权被执行的企业分别为上海绿地滨江置业有限公司、上海绿地海珀置业有限公司、上海中油浦东石油销售有限公司、绿地地产集团有限公司、绿地能源集团有限公司,冻结股权数额合计约112.3亿人民币,冻结期限均为3年,执行法院为重庆市万州区人民法院、江苏省无锡市中级人民法院。
绿地控股集团有限公司成立于1992年7月,法定代表人为张玉良,注册资本约226.5亿人民币,由绿地控股集团股份有限公司、绿地金创科技集团有限公司共同持股。风险信息显示,该公司现存多条被执行人及股权冻结信息。















