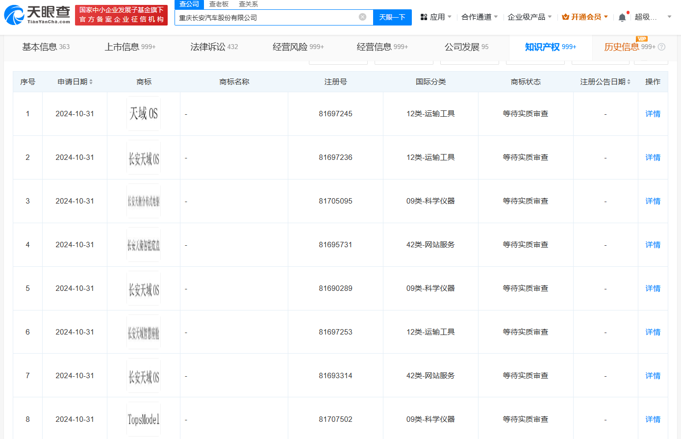
天眼查知识产权信息显示,近日,重庆长安汽车股份有限公司申请注册多枚“长安天域 OS”“天衡智能底盘”“长安天域智慧座舱”“长安天衡分布式电驱”商标,国际分类涉及科学仪器、运输工具、网站服务,当前商标状态均为等待实质审查。
据报道,不久前,长安汽车发布了长安SDA天枢架构、长安天枢大模型、长安智驾、长安天域OS、长安天域智慧座舱、长安天衡智能底盘、长安天驭智能增程7项技术。

天眼查知识产权信息显示,近日,重庆长安汽车股份有限公司申请注册多枚“长安天域 OS”“天衡智能底盘”“长安天域智慧座舱”“长安天衡分布式电驱”商标,国际分类涉及科学仪器、运输工具、网站服务,当前商标状态均为等待实质审查。
据报道,不久前,长安汽车发布了长安SDA天枢架构、长安天枢大模型、长安智驾、长安天域OS、长安天域智慧座舱、长安天衡智能底盘、长安天驭智能增程7项技术。

【责任编辑:王少晨】


扫描二维码关注"中国能源报"官方微信