天眼查知识产权信息显示,近日,广东小鹏汽车科技有限公司申请注册“小鹏鲲鹏超级电动”“小鹏鲲鹏”“小鹏极盾”“小鹏闪盾”商标,国际分类为运输工具、科学仪器,当前商标状态为等待实质审查。
据媒体报道,近日,小鹏汽车宣布推出“小鹏鲲鹏超级电动体系”,该体系基于全域800V高压碳化硅平台,搭载5C超充AI电池、混合碳化硅同轴电驱、静音增程器(运行噪音仅为1dB)以及AI电池医生和AI动力功能。

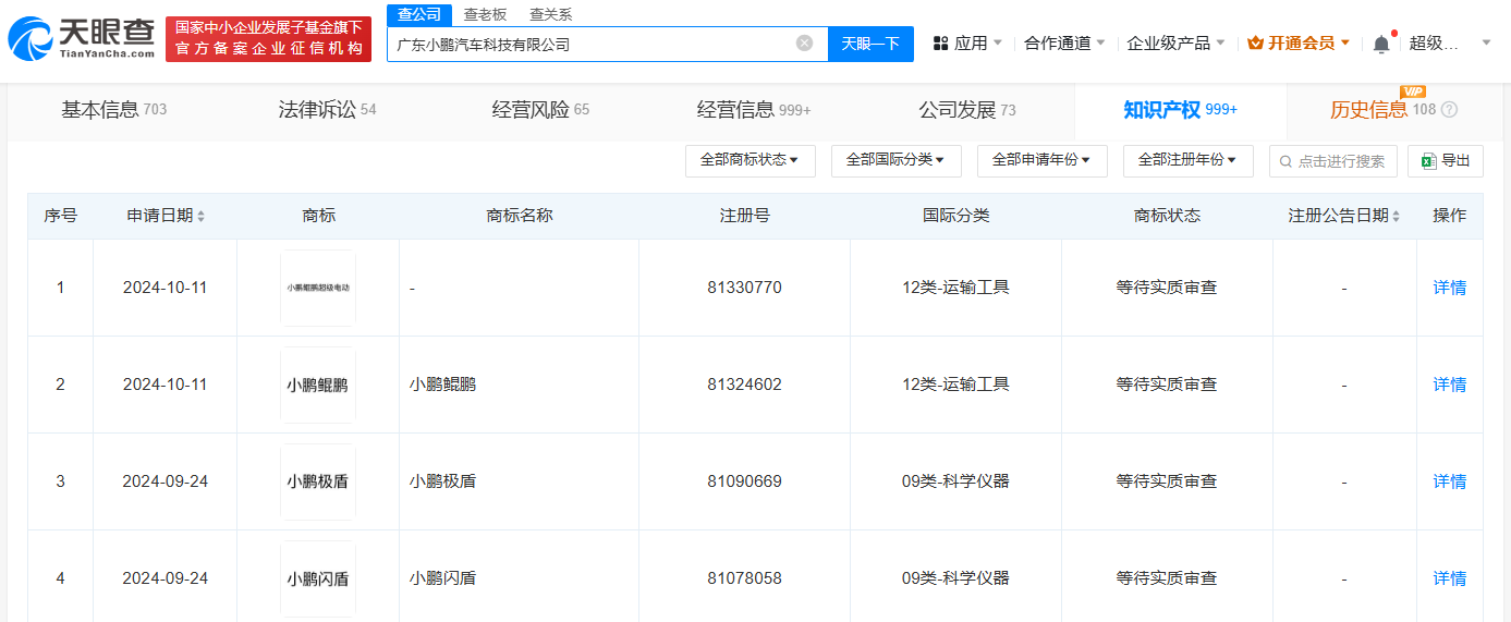
天眼查知识产权信息显示,近日,广东小鹏汽车科技有限公司申请注册“小鹏鲲鹏超级电动”“小鹏鲲鹏”“小鹏极盾”“小鹏闪盾”商标,国际分类为运输工具、科学仪器,当前商标状态为等待实质审查。
据媒体报道,近日,小鹏汽车宣布推出“小鹏鲲鹏超级电动体系”,该体系基于全域800V高压碳化硅平台,搭载5C超充AI电池、混合碳化硅同轴电驱、静音增程器(运行噪音仅为1dB)以及AI电池医生和AI动力功能。

【责任编辑:王少晨】


扫描二维码关注"中国能源报"官方微信