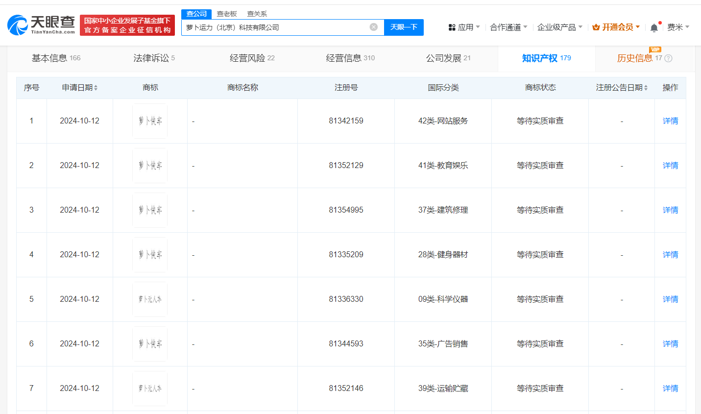
天眼查知识产权信息显示,近日,萝卜快跑关联公司萝卜运力(北京)科技有限公司申请注册2枚“萝卜无人车”商标,国际分类为科学仪器、运输贮藏,此外该公司还申请注册了5枚“萝卜快车”商标,国际分类含网站服务、教育娱乐、建筑修理等,当前上述商标状态均为等待实质审查。
此前据媒体报道,今年7月,萝卜快跑已经于11个城市开放载人测试运营服务,并且在北京、武汉、重庆、深圳、上海开展全无人自动驾驶出行服务测试。

天眼查知识产权信息显示,近日,萝卜快跑关联公司萝卜运力(北京)科技有限公司申请注册2枚“萝卜无人车”商标,国际分类为科学仪器、运输贮藏,此外该公司还申请注册了5枚“萝卜快车”商标,国际分类含网站服务、教育娱乐、建筑修理等,当前上述商标状态均为等待实质审查。
此前据媒体报道,今年7月,萝卜快跑已经于11个城市开放载人测试运营服务,并且在北京、武汉、重庆、深圳、上海开展全无人自动驾驶出行服务测试。

【责任编辑:王少晨】


扫描二维码关注"中国能源报"官方微信