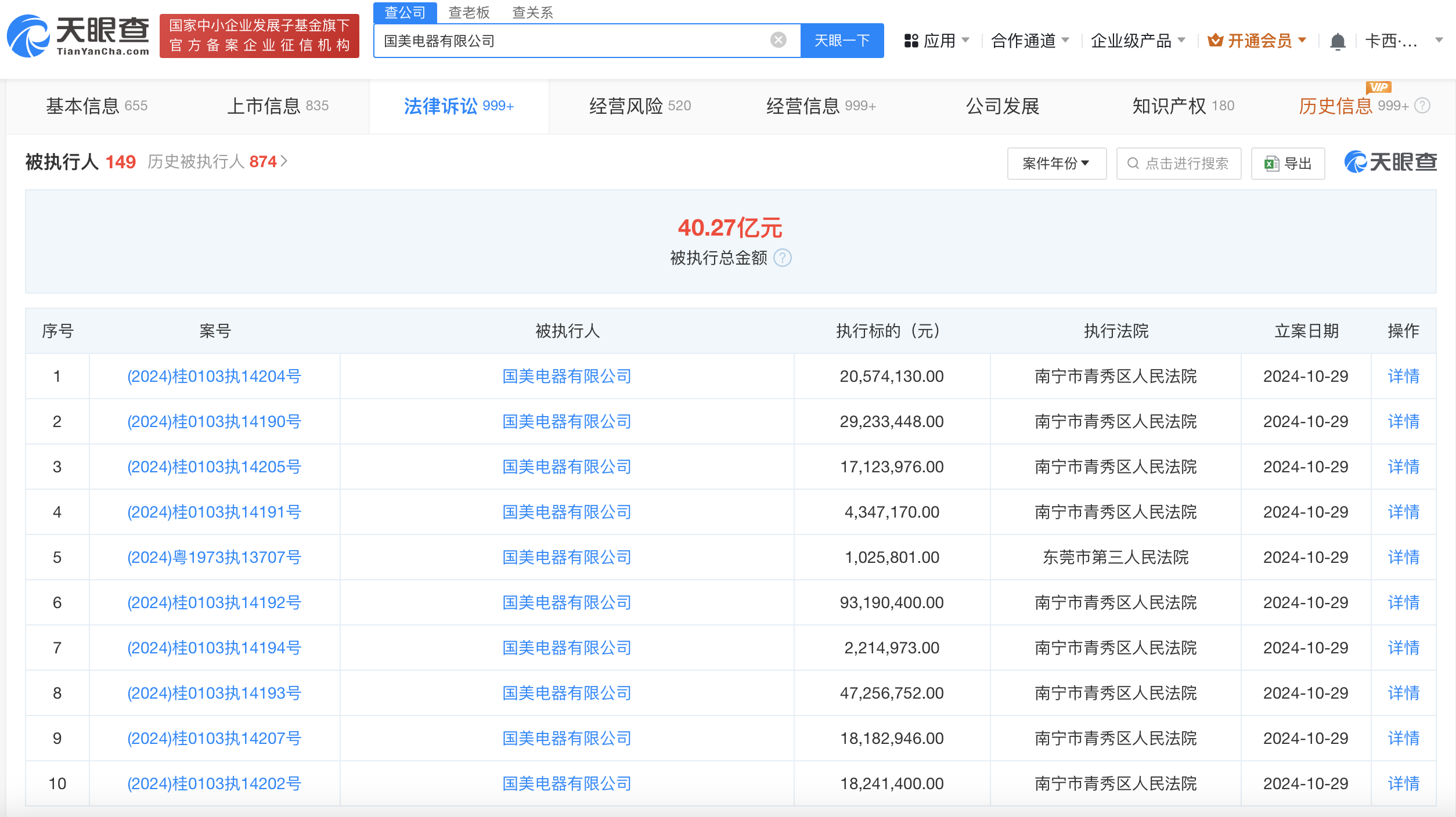
天眼查法律诉讼信息显示,10月29日,国美电器有限公司新增10条被执行人信息,执行标的合计2.5亿余元,涉及金融借款合同纠纷、租赁合同纠纷案件,部分案件被执行人还包括南宁国美电器有限公司、南宁国美物流有限公司等,执行法院为南宁市青秀区人民法院、东莞市第三人民法院。
天眼风险信息显示,国美电器有限公司现存140余条被执行人信息,被执行总金额超40亿元。此外,该公司还存在多条限制消费令、失信被执行人(老赖)和终本案件信息。

天眼查法律诉讼信息显示,10月29日,国美电器有限公司新增10条被执行人信息,执行标的合计2.5亿余元,涉及金融借款合同纠纷、租赁合同纠纷案件,部分案件被执行人还包括南宁国美电器有限公司、南宁国美物流有限公司等,执行法院为南宁市青秀区人民法院、东莞市第三人民法院。
天眼风险信息显示,国美电器有限公司现存140余条被执行人信息,被执行总金额超40亿元。此外,该公司还存在多条限制消费令、失信被执行人(老赖)和终本案件信息。

【责任编辑:杨涵易】


扫描二维码关注"中国能源报"官方微信