“世界铜王”王文银及正威集团旗下唯一上市公司正威新材,正面临易主的风险。
8月20日,正威新材公告称,收到山东省青岛市中级人民法院两份《执行裁定书》,因股权转让纠纷,深圳翼威新材料有限公司(以下简称“深圳翼威”)所持62296425股、5497375股无限售流通股股票将划归青岛海控投资控股有限公司(以下简称“青岛海控”)所有。

来源:正威新材
此次股权变动后,青岛海控将持有正威新材股份67793800股,占该公司总股本的10.40%,可能会导致正威新材控制权发生变更。
九鼎系或将重新实控正威新材
根据公告,江苏九鼎集团有限公司及其一致行动人顾清波(简称“九鼎系”)持有公司股份1.49亿股,占比为22.94%;深圳翼威及其一致行动人(简称“正威系”)持有0.80亿股,此次权益变动后,其持有公司股份占比从22.67%下降到12.27%。
其中,深圳翼威被拍卖的0.62亿股股票、0.05亿股股票通过网络平台拍卖均“已流拍”,现已被青岛中院裁定以物抵债,因此出现上述的裁定。
同一天,正威新材还披露了一份股权司法拍卖进展公告。公告显示,福州中院对深圳翼威持有的正威新材0.25亿股股票在网络拍卖平台重新进行第一次公开拍卖,被江苏九鼎集团有限公司以人民币0.95亿元竞得。
公告称,如本次司法拍卖及青岛中院裁定的股份最终都完成过户,深圳翼威持有的本公司股份将减为0.13亿股,占公司总股本2.06%,正威系持股将减为0.5亿股,占比进一步降为8.40%。青岛海控将持有公司股份仍为10.40%。九鼎系持股比重将增加。
正威新材原名为“九鼎新材”,成立于1994年,由九鼎系实际控制,专业从事玻璃纤维纱、织物及制品、玻璃钢制品的研发、生产和销售。2019年12月,九鼎系实控人顾清波将持有的0.65亿股(占总股比19.55%)A股股份转让给正威系,正威系成为九鼎新材大股东、实控人。2021年,九鼎新材更名为正威新材,成为了正威集团董事局主席王文银控制的第一家A股上市公司,持股份额为29.78%。
近期,九鼎系增持正威新材的动作频频。
除上述司法拍卖买得股份外,3月27日,九鼎集团成功竞拍深圳翼威持有的公司2099.61万股股票,由并完成过户登记手续。拍卖完成后,九鼎系合计持有的股份占正威新材总股本20.35%,正威系合计持有股份减至22.67%,公司控股权未发生变更。
6月5日和6月12日,正威新材先后公告,九鼎系在5月29日-6月5日、6月6日至12日期间分别增持1.45%和1.01%的公司股份,所持股份占总股本达22.8%,重新成为正威新材第一大股东。
被立案、被执行,“世界铜王”正“麻烦”缠身
九鼎系不断增持正威新材的同时,正威系则不断面临“麻烦”。
5月24日,正威新材发布两则公告,因涉信息披露违规,公司收到江苏证监局的行政监管措施决定书,并被中国证监会立案。
经查,2023年11月,福州中院冻结深圳翼威持有正威新材的34396100股,占总股本的6.34%;成都中院轮候冻结深圳翼威持有正威新材的127400000股,占总股本的5.28%。同时,成都中院还对西安正威持有的全部正威新材股票41320000股执行司法再冻结,占总股本的6.34%。对于上述事项,公司董事长兼董秘王文银于2023年12月19日知悉,然而,公司直至2024年1月12日才予以披露。
此外,2023年12月,福州中院拟对深圳翼威持有的20996100股正威新材股票(占公司总股本3.22%)进行公开拍卖,王文银于2024年1月4日知悉股权拟拍卖情况,但同样直至2024年1月12日才予以披露。
7月8日,西安正威持有的正威新材411320000股股份被沈阳中院申请轮候冻结,占总股比的6.34%。至此,正威系所持的正威新材股份已被100%冻结。
此外,控股西安正威和深圳翼威的深圳正威(集团)有限公司目前也正“官司缠身”。

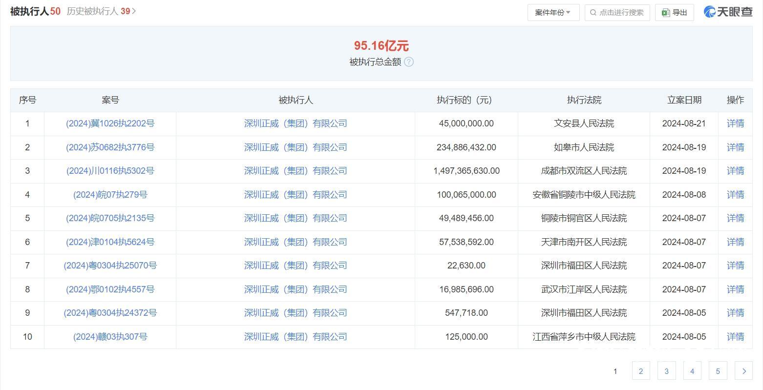
来源:天眼查
据天眼查,8月19日-21日,深圳正威(集团)新增了3条被执行信息,执行标的合计17.78亿元。仅2024年8月以来,深圳正威(集团)的被执行信息就多达12条。截至发稿前,深圳正威(集团)仍现存50条被执行人信息,被执行金额高达95.16亿元。














