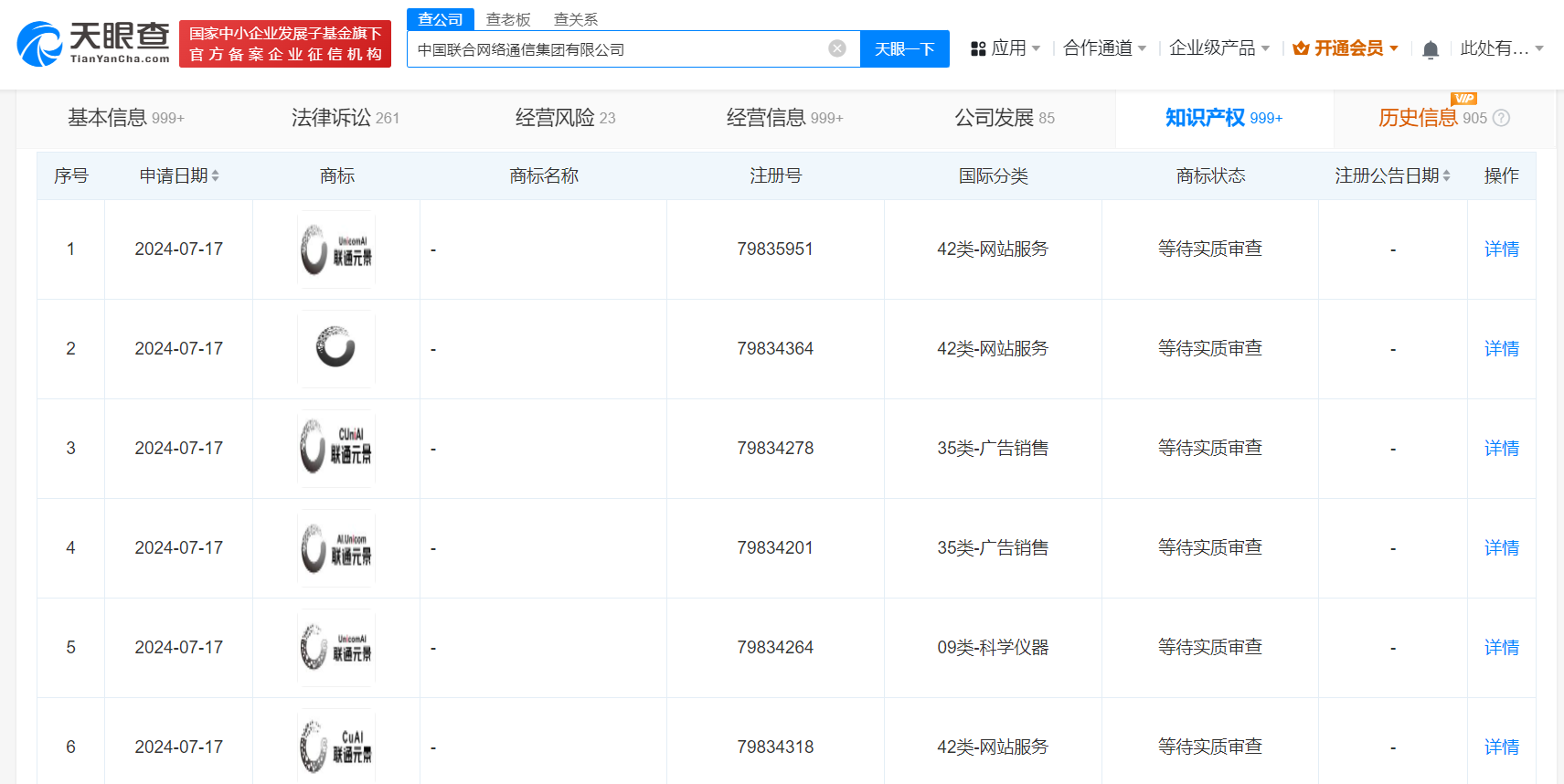
天眼查知识产权信息显示,近日,中国联合网络通信集团有限公司申请注册多枚“UnicomAI”“CuAI联通元景”“UnAI联通元景”商标,国际分类涉及通讯服务、网站服务、科学仪器等,当前商标状态均为等待实质审查。
据媒体报道,近日,中国联通发布了人工智能创新成果元景2.0和算力智联网(AINet)。中国联通总经理简勤表示,元景2.0展现了文生视频、图像可控生成等多模态能力。

天眼查知识产权信息显示,近日,中国联合网络通信集团有限公司申请注册多枚“UnicomAI”“CuAI联通元景”“UnAI联通元景”商标,国际分类涉及通讯服务、网站服务、科学仪器等,当前商标状态均为等待实质审查。
据媒体报道,近日,中国联通发布了人工智能创新成果元景2.0和算力智联网(AINet)。中国联通总经理简勤表示,元景2.0展现了文生视频、图像可控生成等多模态能力。

【责任编辑:杨涵易】


扫描二维码关注"中国能源报"官方微信