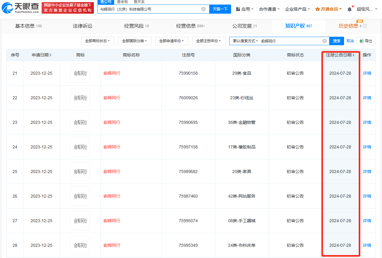
天眼查App显示,近日,与辉同行(北京)科技有限公司申请注册的多个“俞辉同行”商标新增注册公告,国际分类涉及食品、家具、运输工具等。
该公司成立于2023年12月,法定代表人、执行董事、经理为董宇辉,监事为俞敏洪,现由北京新东方迅程网络科技有限公司全资持股。据媒体报道,近日,董宇辉从东方甄选离职,俞敏洪称将与辉同行“送”给董宇辉。



天眼查App显示,近日,与辉同行(北京)科技有限公司申请注册的多个“俞辉同行”商标新增注册公告,国际分类涉及食品、家具、运输工具等。
该公司成立于2023年12月,法定代表人、执行董事、经理为董宇辉,监事为俞敏洪,现由北京新东方迅程网络科技有限公司全资持股。据媒体报道,近日,董宇辉从东方甄选离职,俞敏洪称将与辉同行“送”给董宇辉。



【责任编辑:杨涵易】


扫描二维码关注"中国能源报"官方微信