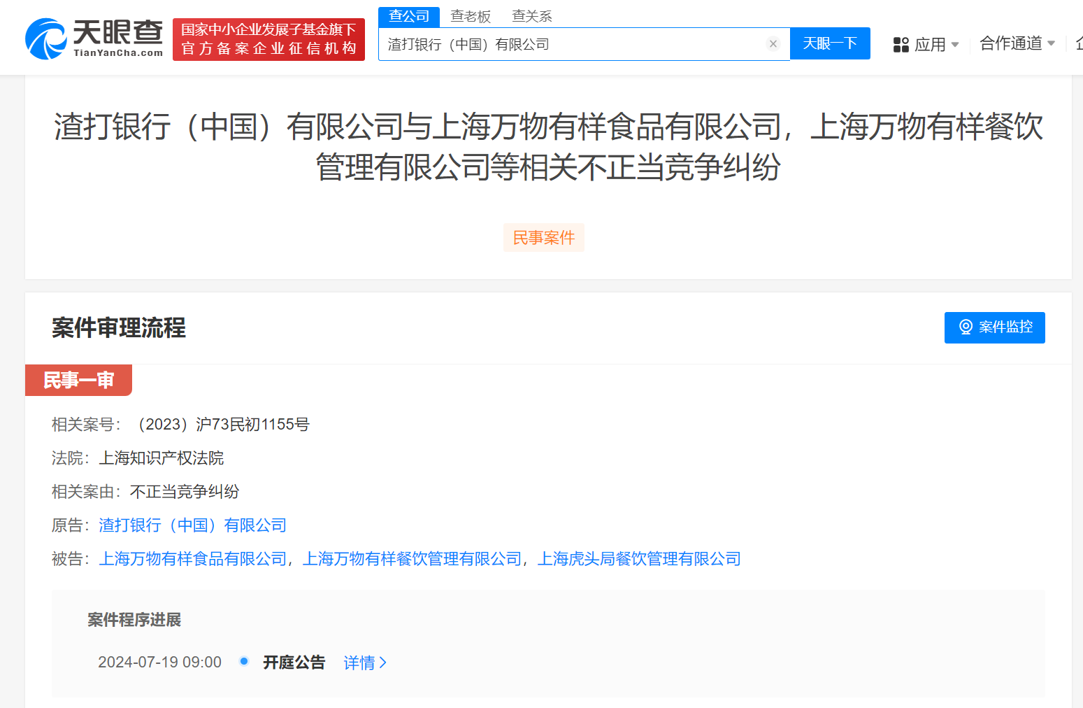
天眼查法律诉讼信息显示,近日,渣打银行(中国)有限公司与虎头局渣打饼行关联公司上海万物有样餐饮管理有限公司、上海万物有样食品有限公司、上海虎头局餐饮管理有限公司相关不正当竞争纠纷案件新增开庭公告,原告为渣打银行(中国)有限公司,该案将于7月19日在上海知识产权法院开庭审理。
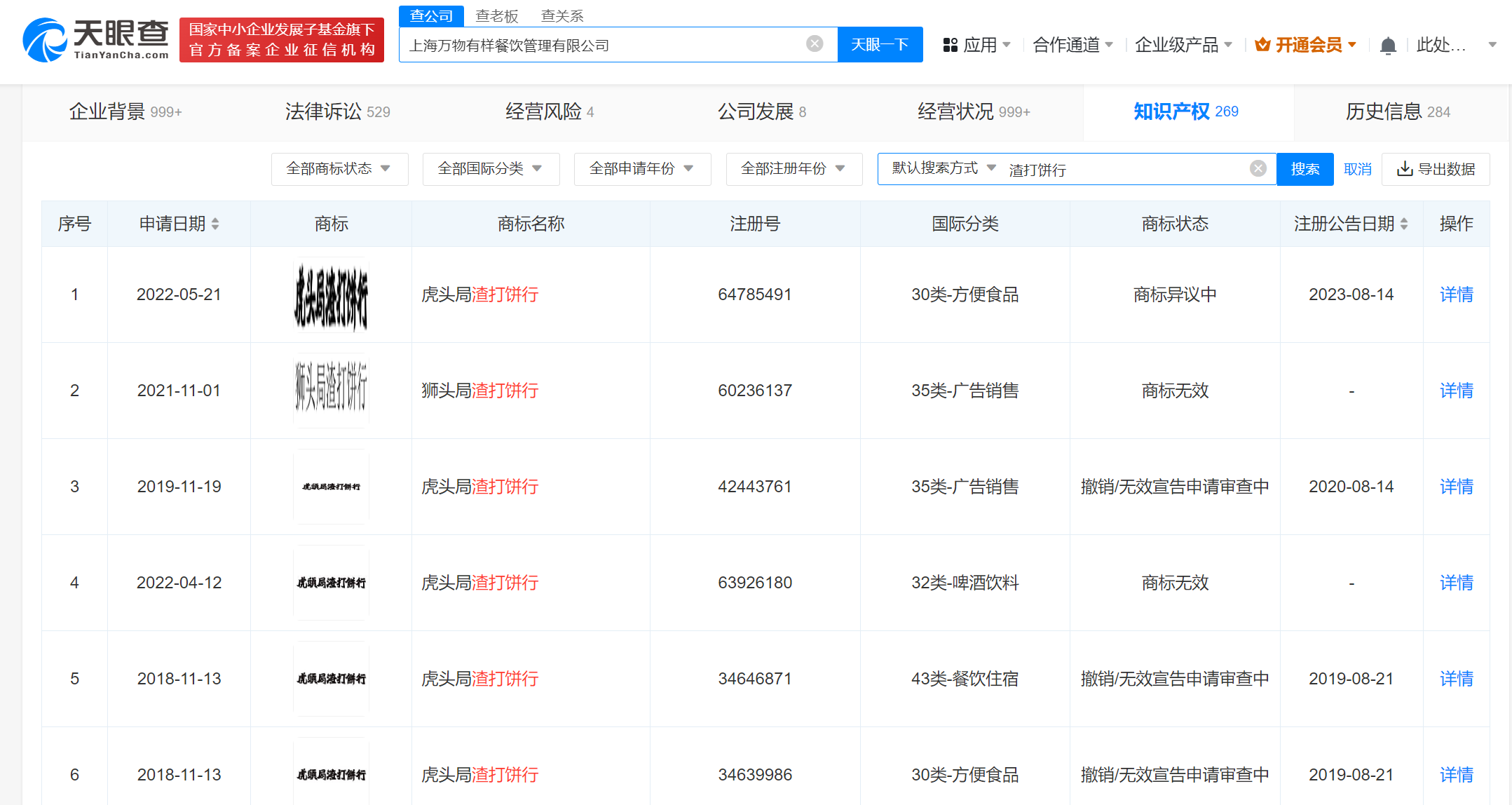
据悉,虎头局渣打饼行成立于2019年,定位为新中式点心潮牌。知识产权信息显示,上海万物有样餐饮管理有限公司已注册多个“虎头局渣打饼行”相关商标。值得一提的是,虎头局去年被爆拖欠工资等,引发关注。随后,虎头局电商板块的负责人表示,所有电商渠道关停。天眼风险信息显示,上海万物有样餐饮管理有限公司已多次被列为老赖并限制高消费,其破产案件也获法院受理。
















