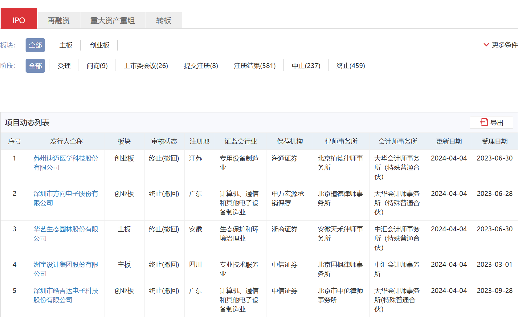
截至发稿,深交所4月4日已终止皓吉达、洲宇设计、华艺生态、方向电子、速迈医学等5家公司的IPO审核,均为发行人、保荐人主动撤回申请。这5单保荐项目中,中信证券占2家,海通证券、申万宏源承销保荐、浙商证券各占1家。






截至发稿,深交所4月4日已终止皓吉达、洲宇设计、华艺生态、方向电子、速迈医学等5家公司的IPO审核,均为发行人、保荐人主动撤回申请。这5单保荐项目中,中信证券占2家,海通证券、申万宏源承销保荐、浙商证券各占1家。






【责任编辑:李扬子】


扫描二维码关注"中国能源报"官方微信