近期陷入传闻风波的国晟科技(603778.SH),今日正式在公告中对于舆情回应称,公司实际控制人、董事长吴君被采取留置措施,配合江苏淮安市监委协助调查,但所涉事项与公司无关。
值得关注的是,公告显示,吴君早在2023年11月2日就被采取留置措施,但公司却在近3个月内一直秘而不宣。
对此,国晟科技在公告中提及,截至本公告披露日,公司尚未收到上述留置相关书面通知,亦未收到有权机关对公司的任何调查或者配合调查文件。
国晟科技还表示,根据《上海证券交易所股票上市规则》相关要求,公司控股股东、实际控制人、董事、监事和高级管理人员被采取留置措施且影响其履行职责时,应当及时披露相关情况及对公司的影响。吴君先生虽被留置,但仍能够正常履行职责,对公司重大事项做出指示,签署董事会重要文件和其他应由公司法定代表人或董事长签署的文件。
对于另一项关于员工薪资延后发放的传闻,国晟科技称,公司拥有完善的治理结构及业务管控流程,生产经营正常进行,并按照公司相关规定发放了员工薪酬。
分析人士向财联社记者表示,董事长吴君被留置的突发事件,无疑给公司的声誉和市场信心带来了一定的冲击。尽管公司迅速发布公告澄清并强调业务运营不受影响,但市场的担忧情绪仍然难以完全消除。
“近年国晟科技在向光伏转型方面取得了进展,然而,随着公司规模的扩大和业务的复杂化,内部控制和风险管理的重要性也日益凸显。此次延迟披露董事长被留置事件,以及此前的被监管警示等负面新闻,暴露出公司在内部管理和信息披露方面可能存在的漏洞和不足。”该人士表示。
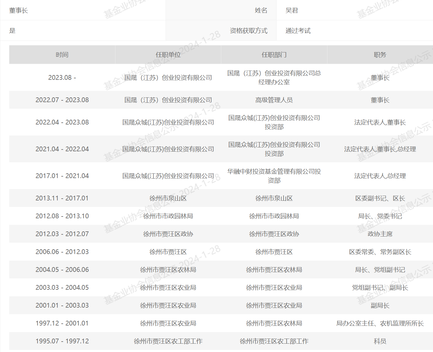
此前公告信息显示,吴君是在去年8月,通过其控制的国晟能源股份有限公司(以下简称“国晟能源”),与上市公司前实控人回全福、杨静夫妇签署股份转让协议,拿下了国晟科技前身“乾景园林”的实控权。
根据乾景园林招股书,徐州市市政园林局在2012年度、2014年度是公司前五大客户。
而通过中国证券投资基金业协会官网,查询到的私募基金管理人公示信息显示,2012年8月至2013年10月期间,吴君担任徐州市市政园林局局长。

此外,吴君在2004年5月至2006年6月,任徐州市贾汪区农林局局长、党组副书记;2006年6月至2012年3月,任徐州市贾汪区区委常委、常务副区长;2012年3 月至2012年7月,任徐州市贾汪区政协政协主席;2013年11 月至2017年1月,任徐州市泉山区区委副书记、区长。
而国晟科技目前还有另一位实控人高飞,公司此前披露称,高飞出生于1979年,曾任徐州市泉城房地产开发有限公司总经理。吴君和高飞同为徐州市���汪区人,系多年朋友。吴君有多年投融资经验,对光伏行业有一定了解,主要负责公司战略规划;高飞有较强的经营管理能力,双方基于各自优势在国晟能源成立之初便有明确分工安排。
在吴君下海创业后,也与国晟科技(乾景园林)在商业上再续前缘。
2022年11月,在乾景园林前实控人回全福、杨静初次计划向吴君控制的国晟能源转让股权时,同时还由上市公司以1.54亿元,购买了国晟能源旗下7家光伏新能源公司的100%或51%的股权。
当时,在回复上交所对交易的问询时,乾景园林表示,收购的这7家公司中,有1家公司开展经营,1家公司处于施工建设阶段,另外5家公司均因设立较晚尚未开展经营,且总体处于亏损状态。
不过,根据国晟科技披露的2023年半年报,当初收购的7家公司中,也只有2家实现了投产。此外,尽管光伏业务已经为国晟科技贡献近9成收入,但截至去年三季度,公司扣非净利润仍未实现盈利。














