香港监管机构对于虚拟资产交易平台的监管持续进行。
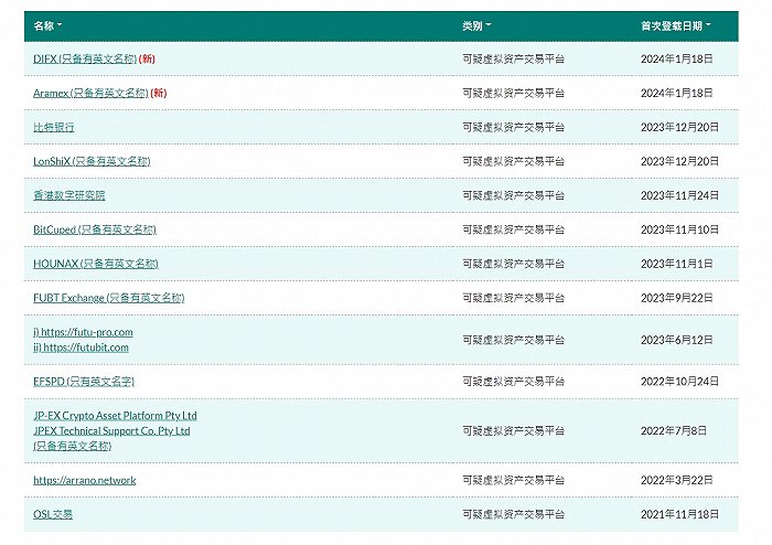
1月18日,香港证监会公告称,提防涉及宣称是虚拟资产交易平台的两家实体的涉嫌欺诈行为。有关实体分别以“Aramex”及“DIFX”的名称运作。
通告指出,香港证监会与警方在两宗个案中,透过监察及调查虚拟资产交易平台相关非法活动的联合工作小组交流情报。
香港证监会及警方注意到,Aramex采用的名称与一家在迪拜金融市场(Dubai Financial Market)上市的物流公司的名称非常相似,但没有迹象显示两者有关联。
香港证监会指出,Aramex假装提供免费投资意见,诱使受害人加入社交媒体聊天群组。在这些聊天群组内,声称是投资专家的人士向有兴趣投资加密货币的受害人推介Aramex营运的网站。受害人其后被要求存入资金至指定银行账户以作投资之用,但之后便无法提取他们的资金。
香港证监会及警方注意到,DIFX采用的名称与另一家加密货币交易所的名称非常相似,但没有迹象显示两者有关联。
值得注意的是,DIFX以与Aramex一案相似的手法,在即时通讯软件上透过讹称是投资专家的人士利诱投资者,并向不虞有诈的投资者推介DIFX营运的网站。与Aramex个案相同,受害人被要求存入资金至指定银行账户,但之后便无法提取他们的资金。
香港证监会在2024年1月18日将Aramex、DIFX及它们各自的网站列入可疑虚拟资产交易平台警示名单。虽然警方已采取行动封锁该两家实体的可识别网站,但公众应提防它们可能持续建立具有相似域名的网站。
香港证监会再次提醒公众,提防在社交媒体平台及即时通讯软件上所分享的“好得令人难以置信”的投资机会及意见。公众亦应注意,一些有欺诈成分的无牌平台不时会采用与合法实体相似的名称以混淆视听。因此,投资者在作出投资决定时应保持警惕,提防欺诈行为。
界面新闻记者注意到,香港证监会网站显示,截至目前,其公布的“可疑虚拟资产交易平台”警示单位已增至13家。

去年12月20日,香港证监会公告称,提防分别以“LonShiX”及“Bitbank (Global) Financial Holding Group”的名称运作的实体涉嫌从事声称与虚拟资产相关的欺诈行为。
香港证监会指出,LonShiX在其网站上声称它的地址位于香港,而该地址是虚假的。LonShiX透过在社交媒体平台及即时通讯软件上讹称是获银行认可的投资专业人士的人,诱使投资者开立投资账户。Bitbank (Global) Financial Holding Group所采用的名称与一家日本加密货币交易所的名称非常相似,但事实上两者并无关联。
12月6日,香港证监会就怀疑虚拟资产相关欺诈行为告诫公众,涉事的实体分别以“香港数字研究院”或“Hong Kong DAO”及“BitCuped”的名称运作。
去年11月,有香港市民经虚拟资产交易平台HOUNAX投资受骗,香港警方表示,截至11月27日,共接获145名受害人报案,涉及金额增加至约1.48亿港元。
9月14日,虚拟资产交易平台JPEX涉无牌经营,被香港证监会警告。
有资深业内人士告诉界面新闻, 在任何新市场建立全新秩序都需要谨慎探索,像香港这样的全球金融中心更是需要考虑各方面的影响,包括对现有市场的冲击以及对零售用户的保护等。














