近日,上海多所学校的学生家长反映,“学校午餐的虾仁炒蛋‘发臭’,部分学生食用后出现不适甚至呕吐,已被紧急撤下。”
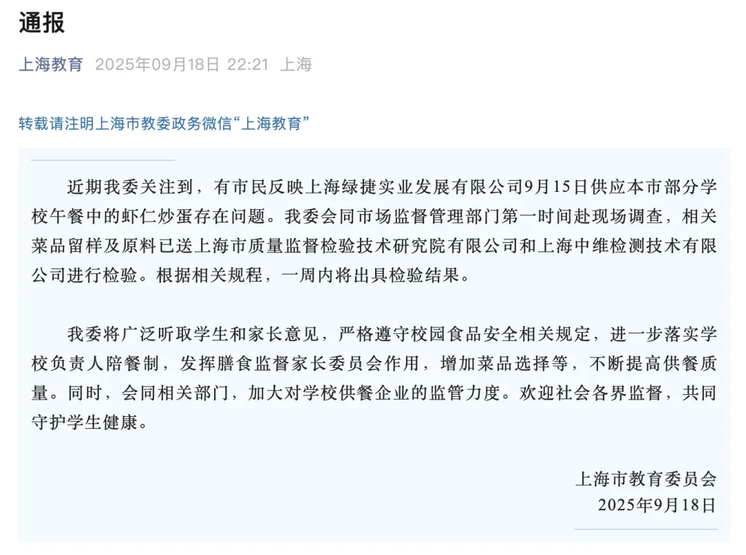
9月18日晚,上海市教育委员会发布通报:
近期我委关注到,有市民反映上海绿捷实业发展有限公司9月15日供应上海部分学校午餐中的虾仁炒蛋存在问题。我委会同市场监督管理部门第一时间赴现场调查,相关菜品留样及原料已送上海市质量监督检验技术研究院有限公司和上海中维检测技术有限公司进行检验。根据相关规程,一周内将出具检验结果。
我委将广泛听取学生和家长意见,严格遵守校园食品安全相关规定,进一步落实学校负责人陪餐制,发挥膳食监督家长委员会作用,增加菜品选择等,不断提高供餐质量。同时,会同相关部门,加大对学校供餐企业的监管力度。欢迎社会各界监督,共同守护学生健康。

针对上述事件,该学生餐供应商上海绿捷实业发展有限公司(以下简称“上海绿捷”)回应称,有学校反映虾仁里有细沙,并不是所有批次都存在问题,不存在别的食品安全问题,公司已经留样,将加强食品安全监管,并深刻反思。
有报道称,在社交媒体上能看到一些上海学生家长的反馈,存在“油炸食品占比过高”“菜品口味差”“学生吃不饱”等问题。
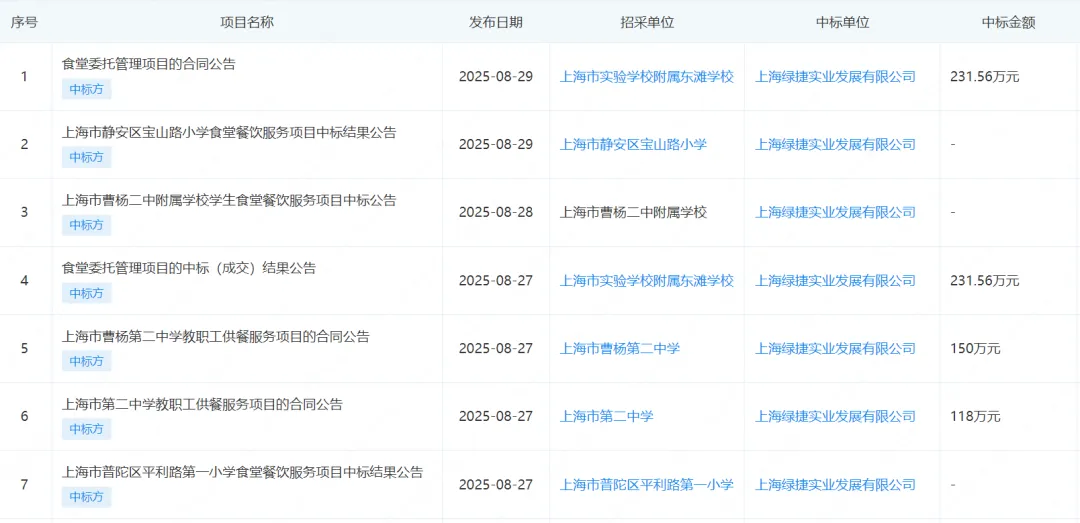
据天眼查数据显示,2025年,上海绿捷有101条中标信息,8月一个月,中标了70家上海中小学的食堂餐饮服务项目。

8月上海绿捷部分中标项目名单
其中,在今年8月,上海市曹杨二中附属学校学生食堂餐饮服务项目中标公告中显示,本项目采用综合评分法,经专家小组打分及评审: 上海绿捷实业发展有限公司得分最高,得分为: 85.80,推荐为中标人。
据悉,上海绿捷成立20多年来,公司业务覆盖全市16个区的500多所中小学、幼儿园,日供餐超过50万份。在2022年,公司董事长张国华曾当选上海市餐饮烹饪行业协会副会长。
天眼查信息显示,张国华在上海绿捷的职务为总经理,任职时间为2018年至2020年。现在,上海绿捷法定代表人为葛某锋,注册资本为5000万元,经营范围包含餐饮管理、信息咨询服务、食用农产品批发等。该公司曾因生命权、健康权、身体权纠纷被起诉。近期,上海绿捷名下多家全资子公司已注销。














