二手生意前景广阔,但二手电商平台却不好做。
步入成立的第十年,二手交易服务平台转转决定战略性撤退,挥刀砍向了起家的C2C(个人对个人)交易业务,全面转向C2B2C模式。
按照转转披露的时间线,从今日上午10点起,关闭“自由市场”的商品发布入口,保留“官方回收”和“寄卖”两个入口。9月29日上午10点起,转转将逐步下线“自由市场”可浏览和购买的商品,到24点关停“自由市场”交易服务。10月31日,客服和售后通道关闭,“自由市场”业务正式下线。
在对外宣布逐步关停自由市场的公开信中,转转集团CEO黄炜称,“自由市场是转转的开端,承载了初创团队的心血和第一批用户的信任;但同时,它也为网络诈骗、灰色交易提供了空间,我们很难找到妥当的方法改善交易双方的纠纷。”
事实上,在C2C交易信任矛盾背后,转转在与闲鱼、爱回收的竞争中已经落了下风,伴随着转转自身商业模式的转型,其C2C业务占集团业务的份额已经不足3%,走向关停的结局并非意料之外。

十年摇摆难解流量焦虑
二次元玩家小艾(化名)在闲鱼上卖“谷子”时,经常会被无法进行身份认证的未成年人询问:“能不能走转转”,在她看来,相比闲鱼,转转的流程并不足够严格,从而加大了遇到交易纠纷的可能性。
在线上二手交易平台中,闲鱼是竞争对手们难以越过的一座大山。早在2012年10月,其前身淘宝二手上线,并在2014年6月更名为闲鱼。伴随着循环经济流行,闲鱼在阿里内部的重要性愈发凸显,并在2023年跻身淘天集团一级业务之列。背靠阿里的流量和生态协同,闲鱼注册用户数已突破6亿,日均GMV超10亿元。
转转也曾经一度不缺乏“靠山”的加持。2015年,转转由58同城旗下的二手频道转变为独立App,并正式上线运营;初期以“58二手优品”为名运营,2016年5月更名为转转优品。58集团不仅给予了转转大力扶持,还拉来了巨头腾讯的投资。
2017年4月,58集团宣布与腾讯达成最终协议,腾讯将向转转投资2亿美元,并逐步打通双方资源促进转转发展。由此,转转成功入驻了微信支付“九宫格”,获得了宝贵的流量入口,这也是转转之后与闲鱼、爱回收形成闲置交易“三足鼎立”格局的一大基础。
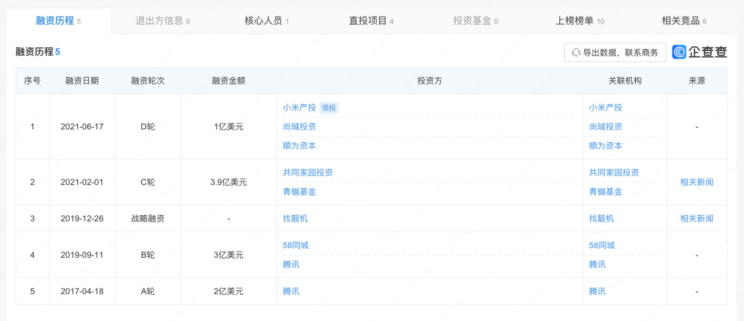
企查查官网显示,在2017年获得腾讯2亿美元资本注入后,2019年转转又获得腾讯和58同城的3亿美元投资;2021年,转转又先后完成C轮、D轮融资,共计融资金额3.9亿美元,投资方中包括小米产投和顺为资本。

资本注入使得转转有了大举营销的底气,2019年,转转曾大举进行广告投放,然而,一旦“烧钱停止”,用户留存便会大打折扣。易观千帆数据显示,2019年底转转的活跃用户数为3500万左右,但2020年便进入下滑态势,活跃用户数一度出现腰斩。
与此同时,转转也在进行频繁的业务布局,努力追逐各类风口。例如,2019年,“炒鞋”热潮下,转转也推出了球鞋交易平台切克,但仅仅尝试了约一年半,2020年底,切克App便在苹果及华为应用商店下线;2020年,转转战略合并二手手机交易平台“找靓机”,从全品类转向聚焦二手手机这一核心品类;两年后,转转喊出“二手拯救世界”的新口号,公司更换了logo,并将自身定位改为“循环经济产业公司”;2024年,转转全资收购二手奢侈品交易平台红布林,又将业务扩展至时尚奢侈品品类。

然而,频繁切换赛道背后,转转始终未能建立起自身的“流量池”,依然需要外部供给。在B站、抖音平台上,转转已经成为了新晋“广告金主”,被调侃“养活了大半个自媒体圈”,有短视频平台用户吐槽:“转转是不是跟全世界的博主都合作了植入广告?”
从轻转重走向新的竞争
在宣布逐步关停自由市场的公开信中,转转提到了“自由市场”的劣势——为网络诈骗、灰色交易提供了空间,很难找到妥善的方法改善交易双方的纠纷;同时也提到了平台的优势——“官方验”和“官方回收”已经成为大部分用户选择转转的原因,以及今天的转转拥有超过2500名质检工程师、近3000名上门回收工程师和超过1000家线下门店。
需要注意的是,“官方”二字并不意味着平台就能天然地获得用户的信赖,C2B2C模式下,平台既当运动员又当裁判,“官方质检”能否持续形成口碑,仍需打一个问号。
2023年11月,网红博主“猴大腕”称“转转二手手机出具阴阳检测报告”,从而使转转陷入信任危机。据报道,当时的视频记录,猴大腕先在一家转转店消费3112元购买一部手机;紧接着将同一部手机在另一家转转店转卖,然而却只能卖出1990元,相差1122元。之后,猴大腕又在一家转转店购买三部手机,四部手机总计花费13610元,但将这四部手机再通过转转卖出时,只能卖出9567元。在整个购机卖机过程中,同一部手机的买卖前后时间相隔不到半小时,却出现了不同的质检报告。
这一事件之后,转转宣布在全国所有门店开通二手商品“7天无理由退货”服务。随后,转转开始重抓质检环节,重金投入扩大质检部门规模,在全国范围内设立了深圳、成都、青岛三大质检中心,质检员工数量占企业半数以上。

(蔡淑敏/摄)
从商业角度来看,全面转向“官方验”业务模式也意味着更重的模式、更高的成本,对转转来说,二手交易这门生意将更苦、更累。
“模式本身是没有竞争力的,关键看怎么执行。”互联网行业分析师丁道师向记者表示:“模式本身一点儿都不稀奇,任何人都可以做另外一个转转,关键是能不能花数十亿建立这一整套标准化的服务体系流程,并且愿意投入10年的时间去做这件事情,严格来说这是一个苦活、累活,而且是不能赚大钱的一个行业,所以国内就这么几家在做。”
转转“挥刀”C2C业务后,业内普遍认为,在自由市场赛道,闲鱼将“一家独大”。不过,这并不意味着转转就能避开与闲鱼的竞争。在质检层面,闲鱼在2020年上线了“验货宝”服务,引进第三方鉴定机制,为买卖双方提供交易保障;同时,闲鱼也在加码C2B2C业务,闲鱼提供“帮卖”服务、“大牌清仓”,为用户提供更多交易选择。
另外,从商业模式的相似度来看,未来,转转或许将与背靠京东的爱回收(万物新生)展开直面竞争。爱回收以二手3C回收模式起家,2019年与京东拍拍合并,打通C2B2C产业链;2020年打造了“非标二手电子产品自动化流转系统”;2021年发力奢侈品回收;2022年拓展多品类回收,从“回收手机”走向“回收万物”。

(蔡淑敏/摄)
尤其是在庞大的线下市场,爱回收的竞争力不容小觑。早在2013年,爱回收在上海开出第一家门店,财报数据显示,截至2025年二季度末,万物新生的线下门店覆盖全国291座城市,门店总数达2092家。近年来,转转也在加大对线下实体的投入,在全国密集布局门店,其官网显示,目前已经有超过1000家转转二手循环商店开业,覆盖100个省会城市。值得一提的是,闲鱼也从去年开始走到线下,在杭州开出了首家闲鱼循环商店社区店,计划向全国百城推广。
从规模来看,爱回收领跑,转转在奋力追赶,闲鱼正在开拓阶段。当二手交易平台集体走向线下,“三国杀”已经开启新的竞争。














