一级市场再次迎来重量级耐心资本。
2月26日,国新基金公开发布央企战略性新兴产业发展基金有限责任公司(以下简称“战新基金”)子基金管理机构遴选公告。这意味着,央企战新基金从筹备设立阶段正式迈入市场化投资运作阶段。
投向未来产业、新兴产业
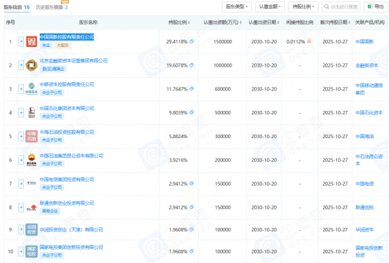
战新基金由国务院国资委发起,委托中国国新控股有限责任公司(下称“中国国新”)设立和管理。基金于2025年10月29日在北京启动,首期规模510亿元,其中中国国新拟出资约150亿元。
从基金结构设计来看,央企战新基金充分体现了长期资本、耐心资本的定位。该基金投资期为5年,管理和退出期为8年,其中投资期最多可延长2年,合计15年。
在具体投向规定上,央企战新基金将紧密围绕新一代信息技术、人工智能、新能源、新材料、高端装备、生物医药、量子科技等领域开展投资,支持国资央企补齐产业短板弱项、布局前沿创新。
本次筛选的子基金投资战新产业和未来产业金额占比不低于70%。文件规定,资金应重点投向早期科技型企业、高速成长型科技领军企业、专精特新企业、独角兽企业、瞪羚企业、高等院校及科研院所等科技成果转化项目等,支持关键核心技术攻关和产业链补链强链。投资A轮融资及以前项目数量占比不低于50%,规模占比不低于30%;投资中央企业外部项目数量占比不低于50%,规模占比不低于30%。

企查查数据显示,战新基金的其他出资方还包括北京金融街资本运营集团有限公司、中移资本控股有限责任公司、中国石化集团资本有限公司、中国石油集团昆仑资本有限公司、中国电信集团投资有限公司等。
第一大股东中国国新成立于2010年12月22日,是国务院国资委监管的中央企业之一,2016年初被国务院国有企业改革领导小组确定为国有资本运营公司试点,2022年12月正式由试点转入持续深化改革阶段。截至2025年底,公司资产总额超万亿元,全年利润总额连续五年保持在200亿元以上。
国资力量密集涌入一级市场
从政策导向看,国家层面多次强调,要推动国有资本和国有企业向关系国家安全、国民经济命脉的重要行业集中,向战略性新兴产业集中。
早在2024年年底,国务院国资委、国家发展改革委联合出台政策措施,推动中央企业创业投资基金高质量发展,支持中央企业发起设立创业投资基金,重点投早、投小、投长期、投硬科技。
政策东风之下,央企系创投母基金加速落地,成为国资布局一级市场、赋能硬科技的核心力量。
2025年5月,中央企业创业投资母基金——诚通科创投资基金(北京)正式落地,规划总规模300亿元,首期规模100亿元,由中国诚通牵头,联合中国石化、中国航油等共同出资设立。该基金锚定“硬科技”投资主航道,重点布局新材料、先进制造、新一代信息技术三大核心领域。2025年12月,由国务院国资委指导,中国诚通发起设立的第二只总规模100亿元的创业投资基金——诚通科创投资基金(江苏)完成工商登记,与北京基金形成“母基金+直投基金”的协同效应。
2025年以来,国家军民融合产业投资基金二期、国家创业投资引号基金和服务贸易创新发展引号基金二期三只国家级基金先后落地。此外,2026年初《关于加强政府投资基金布局规划和投向指导的工作办法》和《政府投资基金投向评价管理办法》正式印发,标志着政府投资基金从粗放式管理向精细化管理转变。
清科最新数据显示,从在管基金(含母基金)的认缴规模来看,2025年,国资背景管理人基金管理规模占据主导地位,占全市场七成份额,35.7%的国资机构管理了行业内七成资金。另外,近年来国资控股管理人的资金规模优势愈发明显,基金管理规模占比已经从2014年的超两成上升至2025年的超六成,提升38个百分点。从出资规模来看,2025年国有控股和国有参股LP的合计披露出资金额占比达85.5%。
一位投资人曾对记者表示,推动一级市场发展,要引入长期资金“活水”,适当降低国资LP返投要求。优化LP结构,推动国资LP强化市场化运作与激励机制,同时鼓励保险、养老金等长期资本入市,并支持专业化母基金发展,构建“耐心资本”体系。
业内人士认为,未来,随着政策体系不断完善、国资布局持续深化,国有资本将进一步发挥杠杆效应,带动更多社会资本投早、投小、投硬科技,打通“科技—产业—金融”的良性循环,为科技创新成果转化、产业链强链补链注入动能,推动一级市场实现高质量发展。














